EasyManua.ls Logo

Huawei NetCol5000-A050 - Page 49

Huawei NetCol5000-A050
360 pages
Print Icon
To Next Page IconTo Next Page
To Next Page IconTo Next Page
To Previous Page IconTo Previous Page
To Previous Page IconTo Previous Page
Loading...
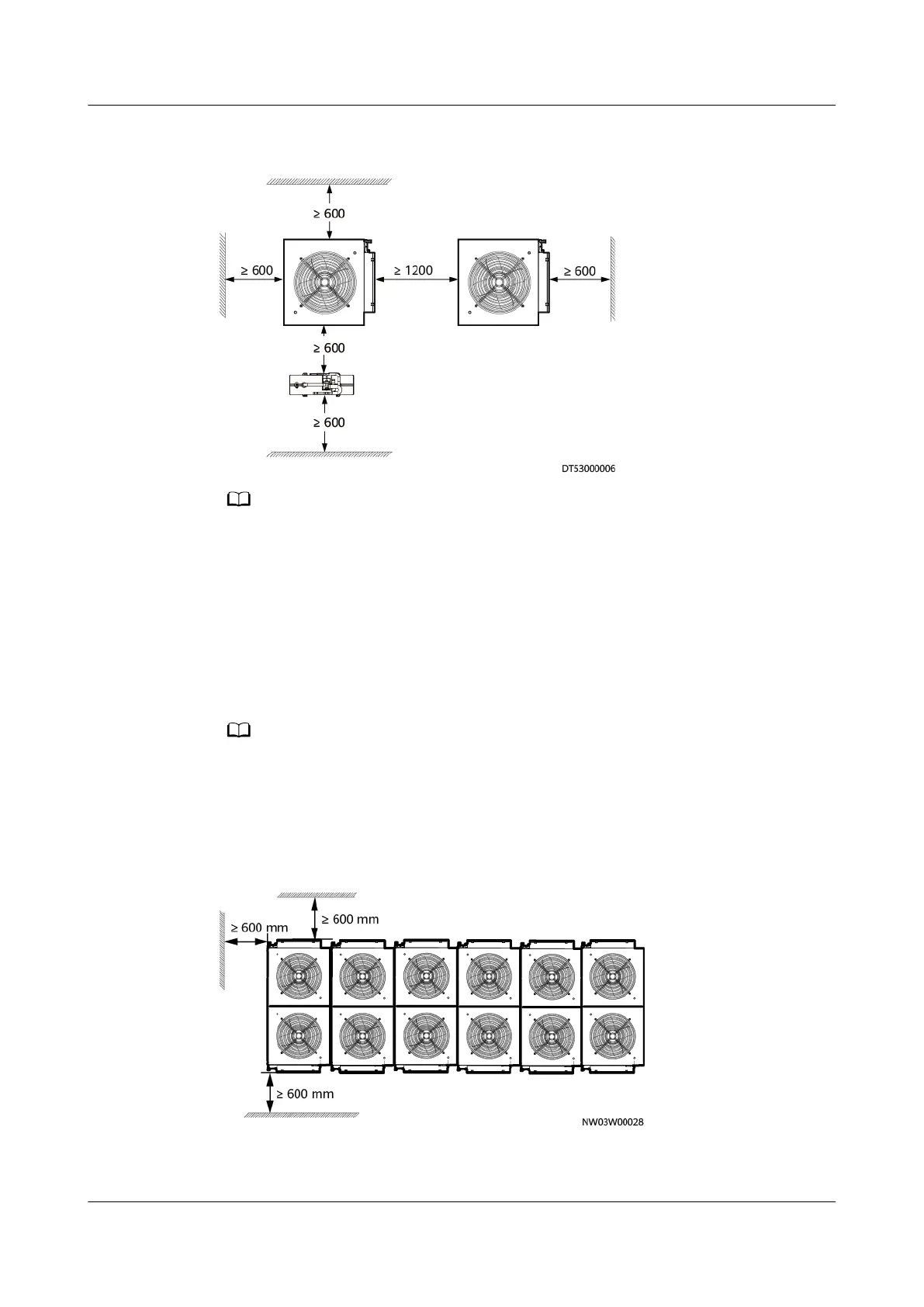
Figure 4-7 Horizontal installation space for an outdoor unit with a low-
temperature component (unit: mm)
NO TE
1. The low temperature component must be within 2 m from the outdoor unit.
2. When the outdoor unit is vertically installed, do not place the low temperature
component at the air outlet.
3. When the outdoor unit is horizontally installed, the outdoor unit and low temperature
component must be placed on bases or concrete platforms of the same height. When
the outdoor unit is vertically installed, the outdoor unit can be 1.5 m higher than the
low temperature component at most and cannot be lower than the low temperature
component.
Compact installation scenario
NO TE
If the space does not meet the requirements of the recommended layout, you can use any
of the following layouts (applicable only to NetCol500-A060 and NetCol500-A120).
However, the cooling capacity of indoor units will be reduced. Exercise caution when
deciding to select the non-recommended layouts.
Figure 4-8 Top view of compact installation if the quantity is ≤ 12 (NetCol500-
A060)
NetCol5000-A050 In-row Air Cooled Smart Cooling
Product
User Manual 4 Installation
Issue 08 (2021-09-17) Copyright © Huawei Technologies Co., Ltd. 39

Table of Contents

Other manuals for Huawei NetCol5000-A050

Related product manuals