EasyManua.ls Logo

Hydac FCU 1310 - How the FCU Works

Hydac FCU 1310
124 pages
Print Icon
To Next Page IconTo Next Page
To Next Page IconTo Next Page
To Previous Page IconTo Previous Page
To Previous Page IconTo Previous Page
Loading...
What can the product do?
How the product works
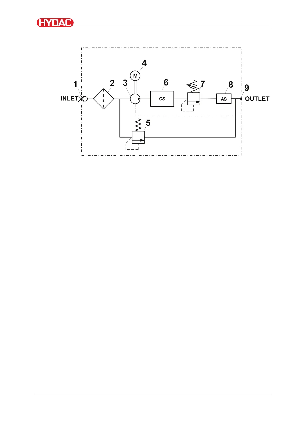
From the oil source (either a pressure port or a bottle sample), a continuous
oil flow is established through the port (1) INLET by an electrically controlled
gear pump (3).
A suction strainer (2) protects the pump from coarse contamination.
The oil current to be analyzed flows through an optical ContaminationSensor
(6). The contaminant particles contained in the oil current cause the light
beam to be darkened in a pulse-like manner. An electronic evaluation module
classifies and counts these measurement signals according to particle
diameter. The evaluation module continuously computes the cleanliness
classes for the reference volume of 100°ml based on the measurement
signals of the optical sensor.
A defined pressure is generated in the oil flow via a counter balance valve
(7). This serves to minimize air bubbles in the system, which could skew the
measurement results.
The pressure relief valve (5) protects the pump and the measuring cell from
excessive pressure.
The oil flow leaves the port (9) OUTLET and is routed by the return hose to a
pressurized tank.
The electronic evaluation module monitors:
the function of the ContaminationSensors
the oil flow
the power supply voltage
the function of the AquaSensors
When a malfunction occurs, an error message automatically appears in the
display and interrupts the measurement. The evaluation module will
recognize when the cause of error has been corrected, and the unit will reset
automatically and resume the measurement operation.
FCU1310
en(us)
Page 27 / 124
BeWa FCU1310 V300 3371346f en-us 2017-01-27.docx 2017-01-27

Table of Contents