EasyManua.ls Logo

Hydac FCU 1310 - Hydraulic Diagram

Hydac FCU 1310
124 pages
Print Icon
To Next Page IconTo Next Page
To Next Page IconTo Next Page
To Previous Page IconTo Previous Page
To Previous Page IconTo Previous Page
Loading...
What can the product do?
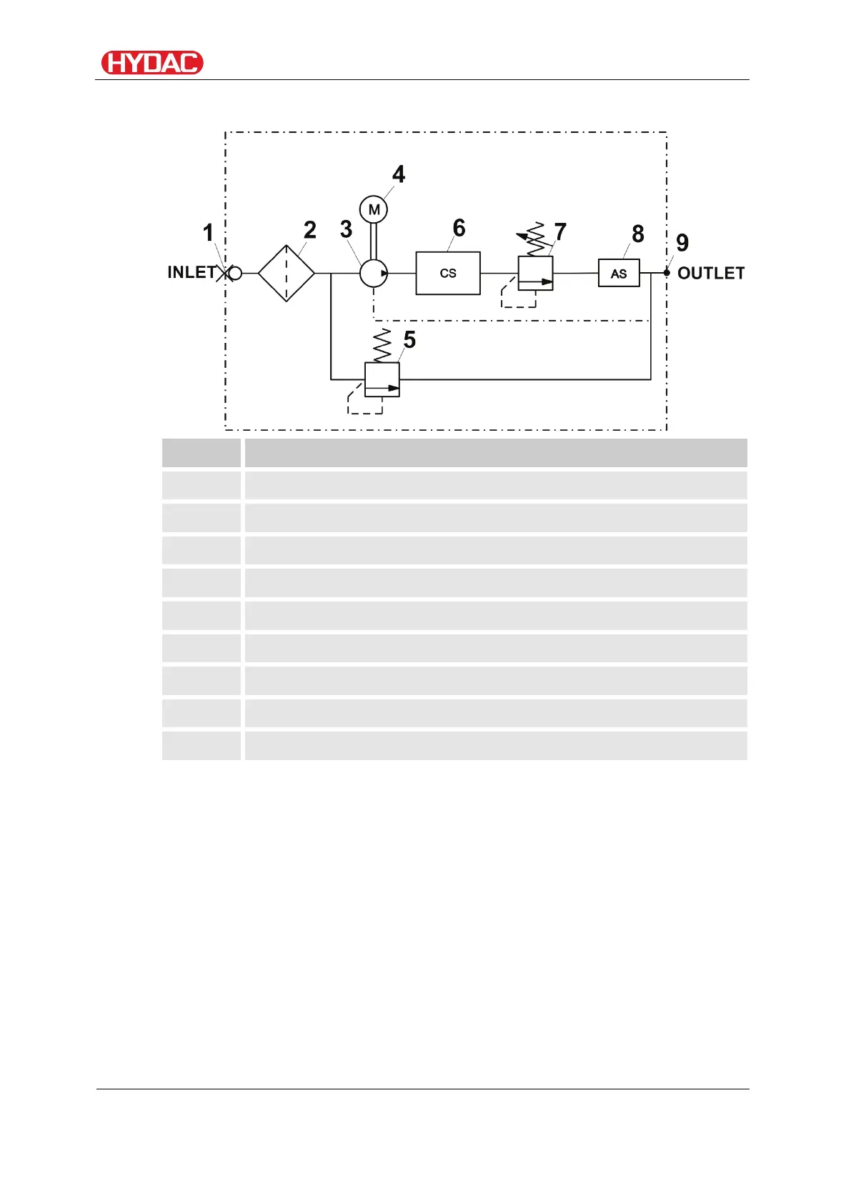
Hydraulic diagram
Item Designation
1 INLET, gauge port type 1604
2 Suction screen, 400 µm
3 Gear pump
4 Electric motor
5 Pressure relief valve
6 ContaminationSensor unit
7 Counter balance valve
8 AquaSensor AS1000
9 OUTLET, DN7 Quick coupling nipple
FCU1310
en(us)
Page 30 / 124
BeWa FCU1310 V300 3371346f en-us 2017-01-27.docx 2017-01-27

Table of Contents