EasyManua.ls Logo

Kone NanoSpace - Safety Gear AQ32

Kone NanoSpace
197 pages
Print Icon
To Next Page IconTo Next Page
To Next Page IconTo Next Page
To Previous Page IconTo Previous Page
To Previous Page IconTo Previous Page
Loading...
KONE NanoSpace™
Owners Manual
59 (196) OM-01.03.086
(B) 2016-01-11
© 2014 KONE Corporation
All rights reserved.
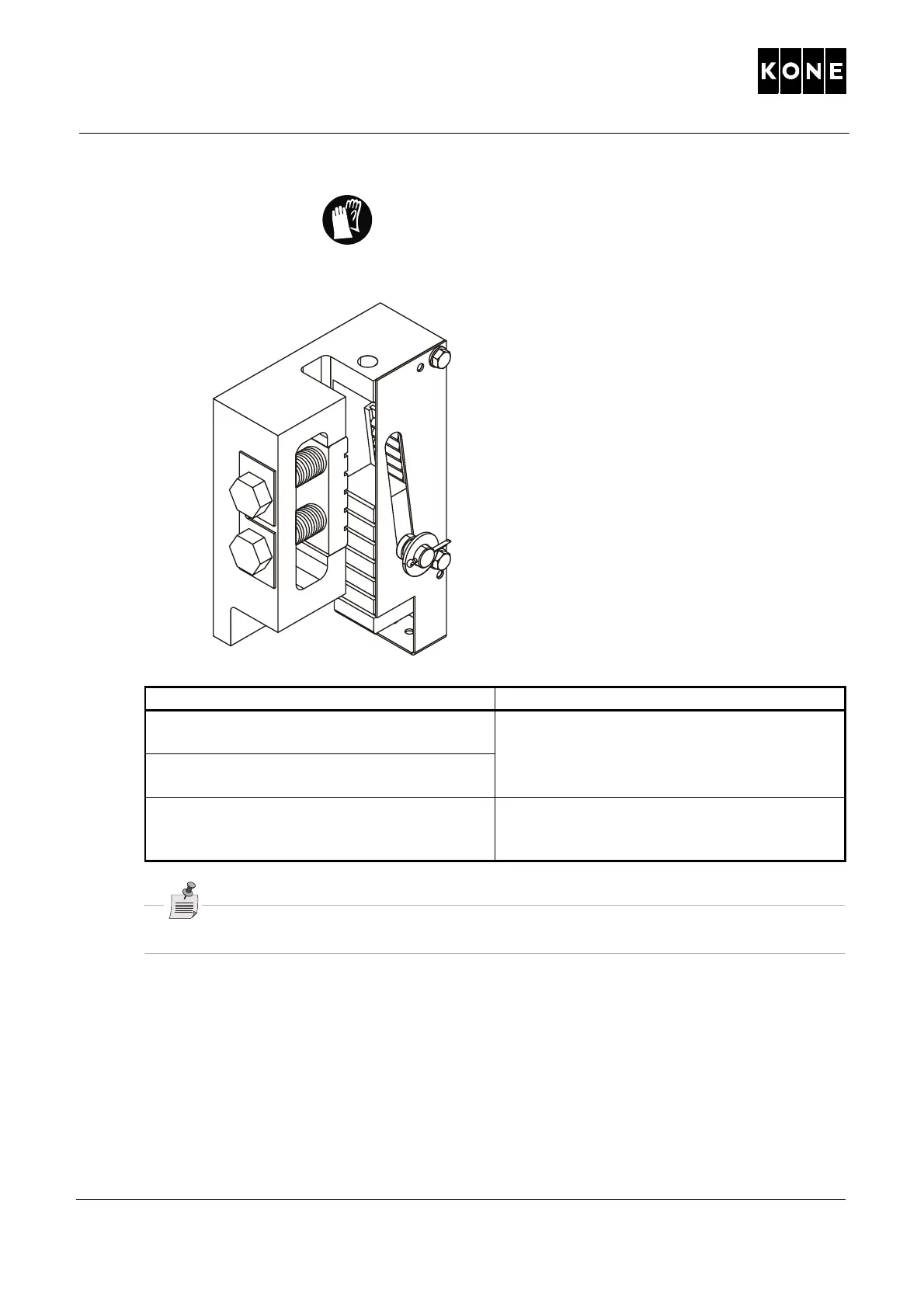
8.4 Safety gear AQ32
The following figure and table illustrate the maintenance schedule for safety gear AQ32.
NOTE! Replace both safety gears as a pair after 12 trippings at 100% load, full speed.
8.4.1 Safety measures
Before starting work, note the following:
All safety measures for normal elevator maintenance must be implemented and local
safety re
gulations must be followed.
Object and maintenance procedure Checking Intervals
Check the operating condition of the
safety gear.
Once a year
Check the operation of the safety gear
contact.
Check th
e system function Overspeed
gov
ernor – Safety gear with empty car and
at reduced speed.
Every other year unless for example dirty or
humid circumstances require more frequent
testing
1075297.wmf

Table of Contents

Related product manuals