EasyManua.ls Logo

Mitel SX-200 - Page 18

Mitel SX-200
342 pages
Print Icon
To Next Page IconTo Next Page
To Next Page IconTo Next Page
To Previous Page IconTo Previous Page
To Previous Page IconTo Previous Page
Loading...
_.
.
..‘..
SECTION
MITL91
OW911
O-096-350-NA
MAINTENANCE CONSOLE CONSOLE POWER COMMON MASTER
CONSOLE
NO
1
NO 2 SUPPLY CONTROL SWITCH
\
I
5
\
!
/
/
SYSTEM POWER
TIP RING
“”
,’
?EST
L,NE”
. ENABLE ,
DISABLE
FRANSFER
7
/
L
t
MAINTENANCE CONNECTOR
i
\
POWER FAIL TRANSFER CONTROL SWITCHES
POWER ON LED
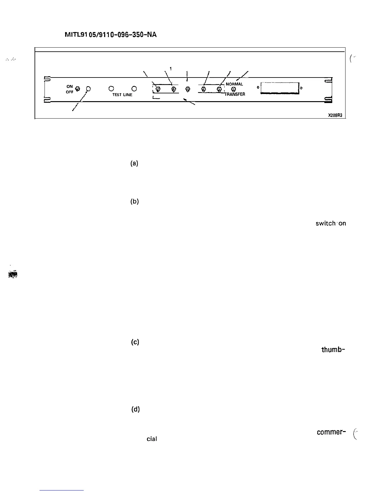
Figure 2-4 Maintenance Panel
X20BR3
Power Fail Transfer Control Switches, a System Power ON/OFF switch
and a Power ON LED.
C”
(a)
(b)
(d
(d)
Maintenance Console Connector: This connector is provided
to allow the installer/repair person to plug in a console for
administration and test purposes: i.e., to program changes in
system data.
Power Fail Transfer Control Switches: These switches are
used to control the source of a power fail transfer. A Power Fail
Transfer (PFT) may be caused: by a common control failure, by
a power failure, by the operation of a failure transfer switch’on
one of the consoles, or by operating the Master Transfer Switch
on the maintenance panel. The switches have two positions:
ENABLE and DISABLE. When set to ENABLE, the system allows i
power fail transfer to be initiated from the designated source.
When set to DISABLE, the designated source cannot initiate
power fail transfer; e.g., with the COMMON CONTROL power fail
transfer control switch set to ENABLE, a common control failure
will cause a power fail transfer. The MASTER power fail transfer
switch will set the system to power fail transfer when operated
to the TRANSFER position. The switches associated with each
console must be set to disable when that console is not in use.
If the transfer switch on a console will never be used, the
transfer enable switch may be left in the disable position at all
times.
Test Line Terminals: The test line TIP and RING terminals may
be used in conjunction with a test set (butt-in) and the
thumb-
wheel switches on the tone control card, to access individual
speech paths, receivers, trunks, and lines for test purposes. The
test line also has the capability of resetting system errors,
initializing card slots, busying out and debusying receivers and
speech paths and controlling the printer port. See Part 3 for a
full description of the use of the Test Line.
The System Power: This switch has the ability to turn the
shelf power on or off. Note that this does. not turn the power
supply off, but the system will go into a Power Fail Transfer.
The system power should be disconnected from the
commer-
.-
cial
AC source (or DC if -48 Vdc fed) before any power supply
c
maintenance is attempted.
Page 12

Table of Contents

Other manuals for Mitel SX-200

Related product manuals