EasyManua.ls Logo

Mitel SX-200 - 3. CONSOLE AND TEST LINE MAINTENANCE FUNCTIONS; Console Maintenance Functions

Mitel SX-200
342 pages
Print Icon
To Next Page IconTo Next Page
To Next Page IconTo Next Page
To Previous Page IconTo Previous Page
To Previous Page IconTo Previous Page
Loading...
SECTION
MITLSlOW911
O-096-350-NA
(SEE
MAP350-SMJ
TB1/3 PS/Pll P3/P9
Pl/P7
IN1234567
PIN 21
CARD SLOT 19
TB2/4
(SEE
MAF-350~504)
PB/PlZ W/P10
PZ/PB
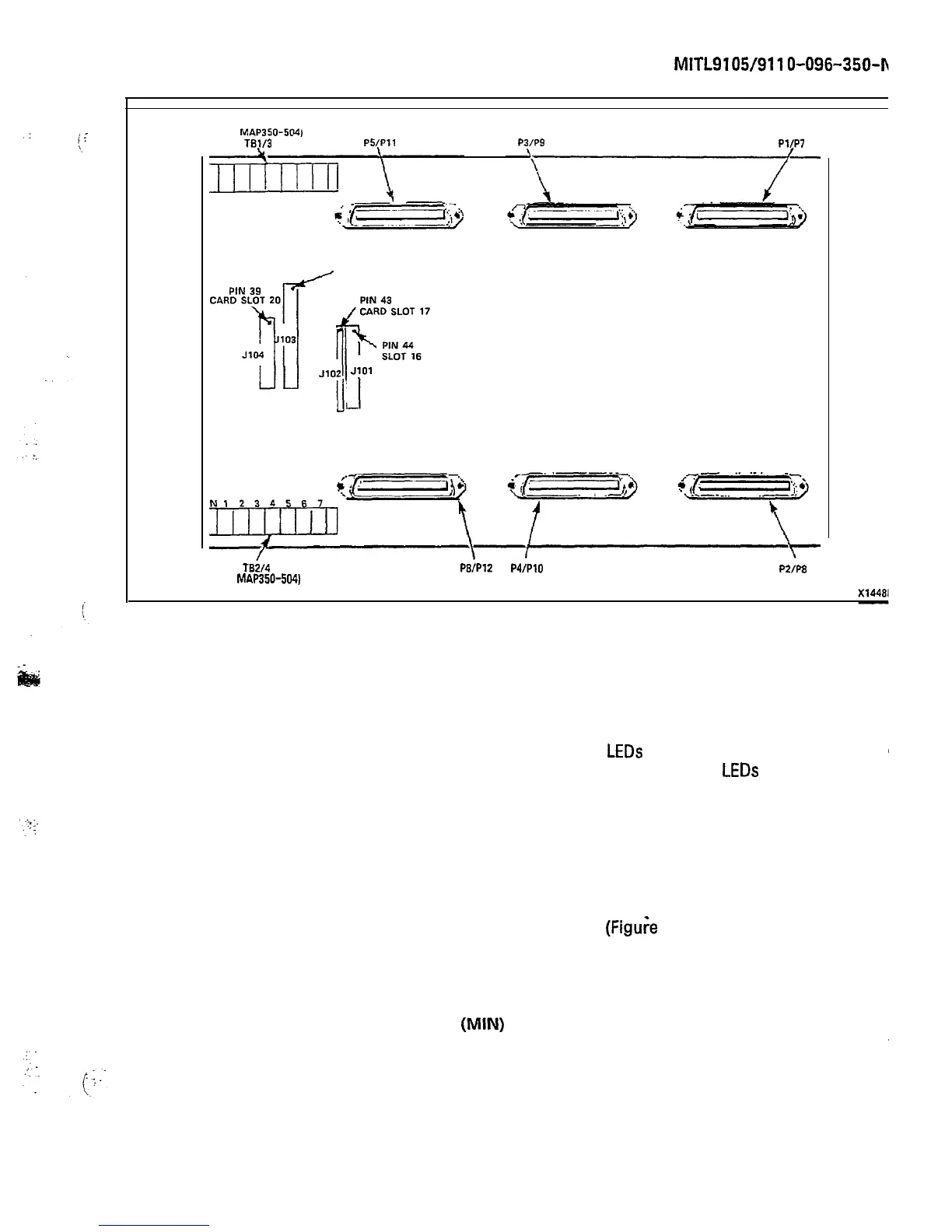
Figure 2-9 Backplane
3. CONSOLE AND TEST LINE MAINTENANCE FUNCTIONS
3.01
The console and test line are of great importance when detect-
ing and locating a fault. Each may be used individually or they
may be used together in troubleshooting the system. This Part will
discuss first the Console Alarm
LEDs
and Maintenance Aids, and then
the Test Line Functions. The Console Alarm
LEDs
and Maintenance
Aids will include all ERROR, Supervisor access and Maintenance Func-
tion access codes in the form of tables. The Test Line Function de-
scription will include an explanation of all features available to the test
line.
Console Maintenance Functions
3.02
Each Attendant Console
(Figuie
3-l) is equipped with a number
of maintenance aids and keys which are associated with main-
tenance functions. The following paragraphs describe the function of
each maintenance-associated LED and key:
(a) Minor
(MIN)
Alarm LED:
This LED will flash whenever the
automatic diagnostics detect a malfunction which is not suffi-
ciently serious to cause a complete system failure. Typical
examples would include receiver malfunction, speech path mal-
function or crosspoint malfunction.
Page 19

Table of Contents

Other manuals for Mitel SX-200

Related product manuals