EasyManua.ls Logo

Mitel SX-200 - Maintenance Panel; Interconnect Card Equipment Terminations; Shelf Backplane

Mitel SX-200
342 pages
Print Icon
To Next Page IconTo Next Page
To Next Page IconTo Next Page
To Previous Page IconTo Previous Page
To Previous Page IconTo Previous Page
Loading...
SECTION
MITL9105/911
O-096-350-NA
..:.-.
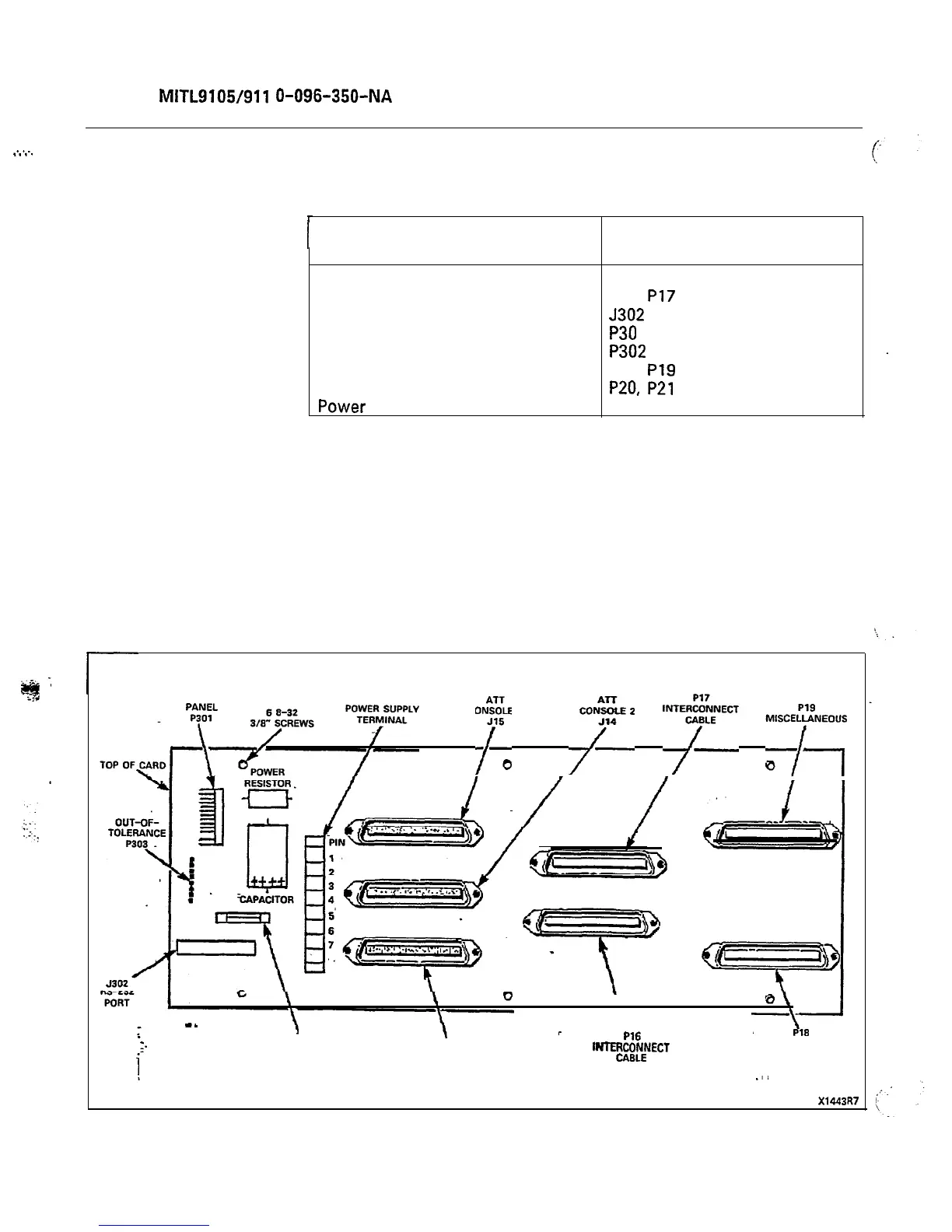
TABLE 2-6
INTERCONNECT CARD EQUIPMENT
TERMINATIONS
r
I
Component
Consoles
Shelf Backplane
Printer/Recording Device
Maintenance Panel
Power Out-of-Tolerance
Cross-Connect
Power Fail Transfer
Power
Terminal
Interconnect Card
Plug Number
J13, J14, J15
P16,
P17
J302
P30 1
P302
P18,
P19
P20,
P27
TB30 1
MAINTENANCE TB301
CONSOLE 1
f.
f”
lTEcT
y)l%EO”;
-_
\
>
-48 Vdc
CONSOLE
‘MAINTENANCE
I_
P16
P13
CONSOLE
INTEX~NNECT
MISCELLANEOUS
FUSE
J13
CABLE
1.5 AMP FAST BLO
.I/
X1443R7
Figure 2-6 SX-200 Interconnect Card
Page 16

Table of Contents

Other manuals for Mitel SX-200

Related product manuals