EasyManua.ls Logo

Mitel SX-200 - 4. CONSOLE FUNCTIONS AND ERROR CODES

Mitel SX-200
342 pages
Print Icon
To Next Page IconTo Next Page
To Next Page IconTo Next Page
To Previous Page IconTo Previous Page
To Previous Page IconTo Previous Page
Loading...
SECTION
MITL91
OS/91
lo-096-350-NA
a
:_
. .
:
t
:.
‘,..
:
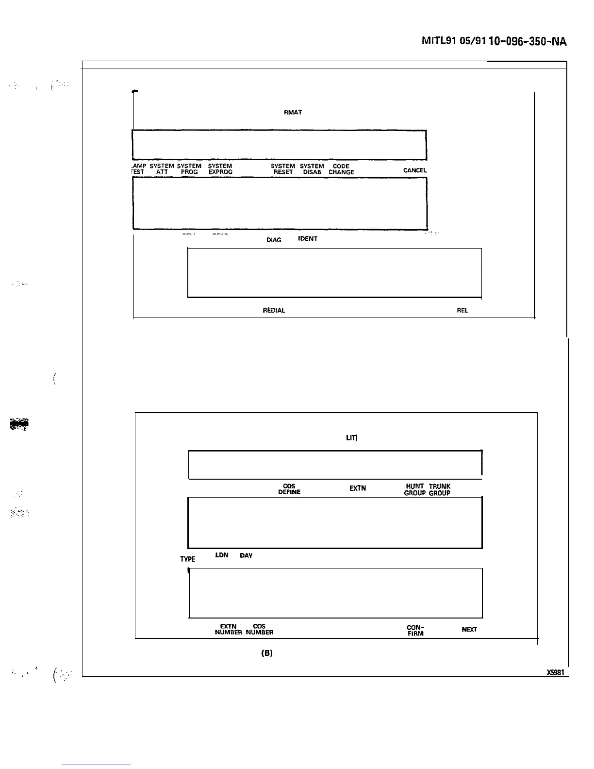
RMAT
CONSOLE OVERLAV
LAMP SYSTEM SYSTEM SYSTEM SYSTEM SYSTEM CODE
TEST
ATT
PROG EXPROG RESET
DISAB
CHANGE
CANCEL
K.::.
DATE SET
BELL READ
OFF
DIAG
IDENT
EQPT ENTER
CALL NUMBER
GO ATT DIAL
REDIAL
ANSWER
REL
(A) RMAT PROGRAMMING
PROGRAMMING CONSOLE
(LAMP TEST LED LIT)
LAMP
TEST
OPTION
DEE
FEATURE
EXIN
TRUNK
(!$gyJp
;;g;
CANCEL
,
NPE
LDN
DAY NIGHT-- NIGHT
NUMBER NUMBER 1 2
UC
QVFLO ACCESS
GROUP CODE
ADD ENTER
t
1
EQPT
NUMBER
N”ytER
N”%ER
DENY
TOLL BUSY LAMP PICKUP
NUMBER GROUP
2%
DELETE
NDCT
(6)
STANDARD PROGRAMMING
Figure 4-1 Programming Overlays
Page 29

Table of Contents

Other manuals for Mitel SX-200

Related product manuals