EasyManua.ls Logo

Multilin SR469 - Typical Wiring; Control Power; Phase Current Inputs

Multilin SR469
270 pages
Print Icon
To Next Page IconTo Next Page
To Next Page IconTo Next Page
To Previous Page IconTo Previous Page
To Previous Page IconTo Previous Page
Loading...
ELECTRICAL 2. INSTALLATION
2-8
2.2.1
TYPICAL WIRING
A broad range of applications is available to the user and it is not possible to present typical connections for all possible schemes. The
information in this section will cover the important aspects of interconnections, in the general areas of instrument transformer inputs,
other inputs, outputs, communications and grounding. See and Table 2-1 for terminal arrangement, and for typical connections.
2.2.2
CONTROL POWER
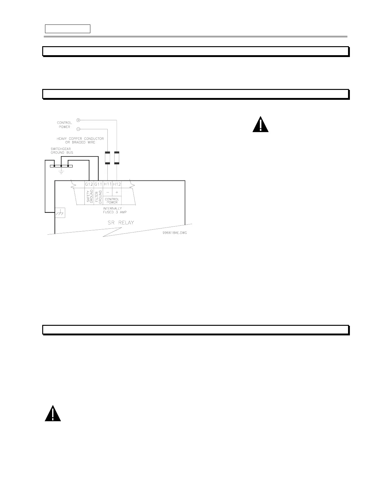
Figure 2-13 CONTROL POWER CONNECTION
CAUTION:
Control power supplied to the SR469 must match the
installed switching power supply. If the applied voltage does not
match, damage to the unit may occur.
The order code from the terminal label on the side of the drawout
unit specifies the nominal control voltage as one of the following:
LO: 20-60 Vdc
20-48 Vac
HI: 90-300 Vdc
70-265 Vac
Ensure applied control voltage and rated voltage on drawout case
terminal label match. For example, the HI power supply will work
with any DC voltage from 90 to 300 V, or AC voltage from 70 to 265
V. The internal fuse may blow if the applied voltage exceeds this
range.
Extensive filtering and transient protection are built into the SR469 to ensure proper operation in harsh industrial environments. Tran-
sient energy must be conducted back to the source through the filter ground terminal. A separate safety ground terminal is provided for
hi-pot testing.
All grounds MUST be hooked up for normal operation regardless of control power supply type.
2.2.3
PHASE CURRENT INPUTS
The SR469 has three channels for phase current inputs, each with an isolating transformer. There are no internal ground connections on the
current inputs. Each phase CT circuit is shorted by automatic mechanisms on the SR469 case if the unit is withdrawn. The phase CTs
should be chosen such that the FLA is no less than 50 % of the rated phase CT primary. Ideally, the phase CT primary should be
chosen such that the FLA is 100 % of the phase CT primary or slightly less, never more. This will ensure maximum accuracy for the
current measurements. The maximum phase CT primary current is 5000 A.
The SR469 will measure correctly up to 20 times the phase current nominal rating. Since the conversion range is large, 1 A or 5 A CT
secondaries must be specified at the time of order such that the appropriate interposing CT may be installed in the unit. CTs chosen must be
capable of driving the SR469 phase CT burden (see Specifications for ratings).
CAUTION:
Verify that the SR469 nominal phase current of 1 A or 5 A matches the secondary rating and connections of the
connected CTs. Unmatched CTs may result in equipment damage or inadequate protection. Polarity of the phase CTs is critical
for Negative Sequence Unbalance calculation, power measurement, and residual ground current detection (if used).
See Appendix B for 2Φ CT configuration application note if this scheme is desired.

Table of Contents

Related product manuals