EasyManua.ls Logo

Omron R88A-MCW151-DRT-E - Page 94

Omron R88A-MCW151-DRT-E
276 pages
Print Icon
To Next Page IconTo Next Page
To Next Page IconTo Next Page
To Previous Page IconTo Previous Page
To Previous Page IconTo Previous Page
Loading...
79
DeviceNet (MCW151-DRT-E only) Section 4-2
Response Block
Parameters
Service code (command, response)
In the command, 36 Hex is specified. In the response, the leftmost bit is
turned ON and B6 Hex is returned.
Address H, Address L (command)
The address in hexadecimal of the first word of data to be read.
Address H: Leftmost 2 digits of the address in 4-digit hexadecimal (ignored
for MC Unit).
Address L: Rightmost 2 digits of the address in 4-digit hexadecimal.
For the VR memory, the maximum value is 250 (FA Hex).
Length H, Length L (command)
The number of VR memory elements to read.
Length H: Leftmost 2 digits of the length in 4-digit hexadecimal (ignored for
MC Unit).
Length L: Rightmost 2 digits of the length in 4-digit hexadecimal.
When an OMRON Master is being used, the maximum is 39 elements (27
Hex). The 39 VR elements imply 234 bytes to be transferred.
Write data (command)
The specified data should be written from word H (leftmost byte: bits 08 to 15)
to word L (rightmost byte: bits 00 to 07).
Note The user should be aware that the MC Unit does not check if the PC memory
data complies to the three-word format.
VR DATA WRITE (ONE-
WORD FORMAT)
VR DATA WRITE (ONE-WORD FORMAT) will write VR data. The VR data
will be defined according to the one-word format.
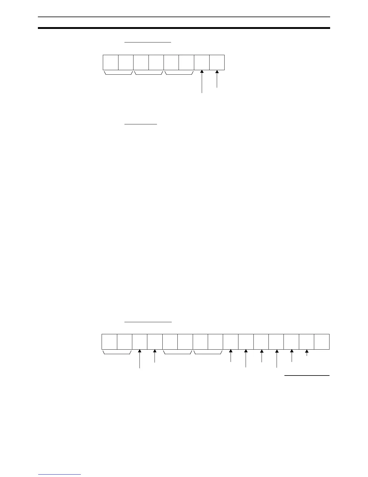
Command Block
28 01 00 00 00 02 B6
Source node address
Command
code
Response
code
No. of bytes
received
Service code
28 01 37 00 8A 00 01 ..
Destination node address
Service code
Instance ID
Length H
Length L
Word data H
Word data L
Command
code
Class ID
Address H
Address L
Write data
(Max. 238 bytes)

Table of Contents

Related product manuals