EasyManua.ls Logo

Powerware Plus 80 - Page 125

Default Icon
160 pages
Print Icon
To Next Page IconTo Next Page
To Next Page IconTo Next Page
To Previous Page IconTo Previous Page
To Previous Page IconTo Previous Page
Loading...
you should read and understand these general notes before beginning installation:
l
The material and labor for external wiring requirements is to be supplied by
others.
l
Power cables and control wiring must be installed in separate conduit.
l
The ground conductor is to be sized per NEC Article 250 and local electrical
code requirements.
l
The maximum current listed is at the minimum DC operating voltage.
l
Nominal voltages listed in this chapter are for a lead-acid battery plant rated
per NEC at 2.00 VDC per cell.
l
The UPS to battery cable should be sized for a total maximum voltage drop
of 1% nominal DC link voltage at maximum current.
l
The external wiring specifications are outlined in Table G on page 51.
Tables H and I on page 51 detail the power cable terminations.
l
The remote battery disconnect weighs approximately 11.4 kg (25 Ibs) and
has an amperes interrupting capacity of 10,060 at 500 VDC.
l
Tightening Torque:
Internal Drive Hex Size:
26.7
-
31.1 N-M (255-275 lb-in.)
S/l 6’
_
l
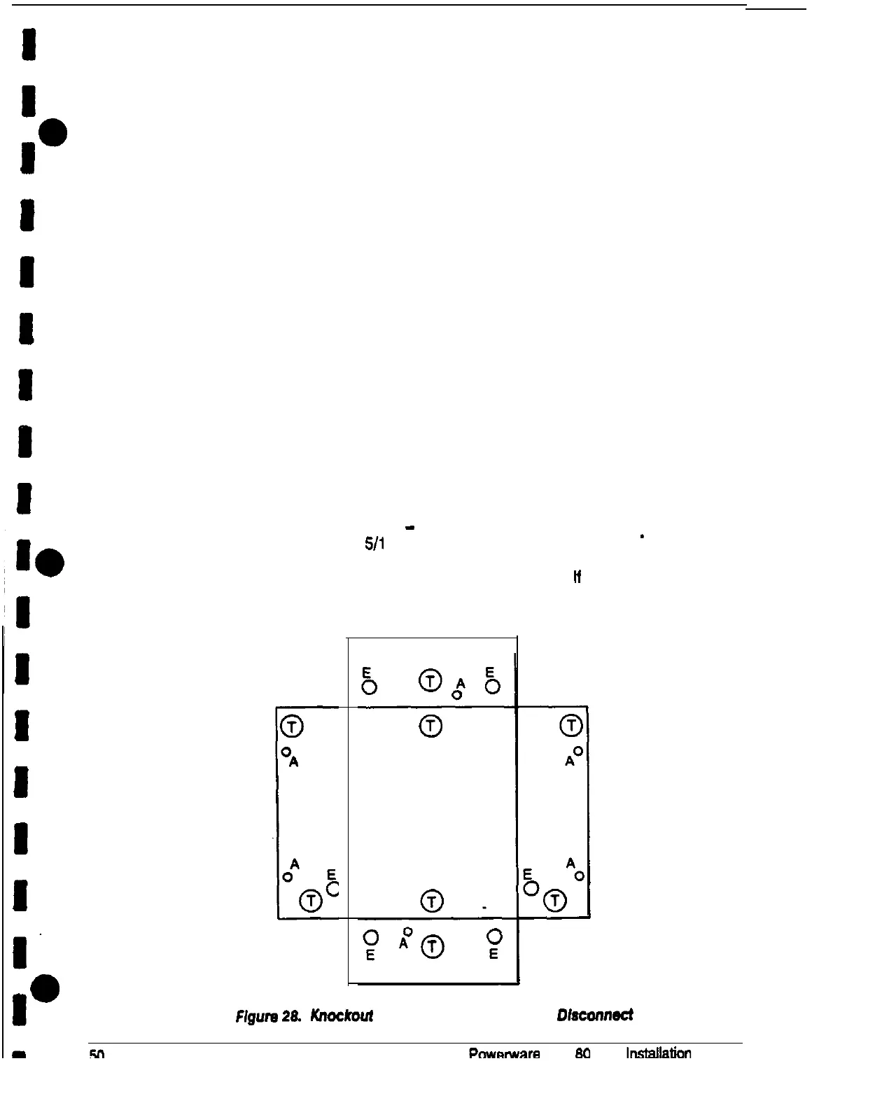
The knockout pattern for conduit is shown in Figure 26. If a larger size
conduit is required, the contractor may enlarge knockouts at your site
during installation.
Flgure
28.
Kmdrouf Pattern for
Remote Battery
Dlswnnect
Powepware
Plus
80
UPS
Instaflakon
Manual

Table of Contents

Related product manuals