EasyManua.ls Logo

Rockwell Automation ArmorStart Bulletin 280G - Page 42

Rockwell Automation ArmorStart Bulletin 280G
324 pages
To Next Page IconTo Next Page
To Next Page IconTo Next Page
To Previous Page IconTo Previous Page
To Previous Page IconTo Previous Page
Loading...
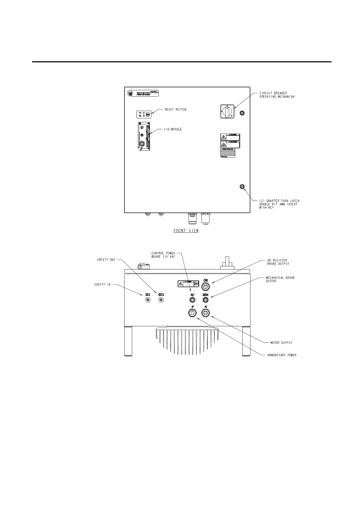
2-24 Installation and Wiring
Figure 2.20 Bulletin 1000 Safety ArmorStart

Table of Contents

Related product manuals