EasyManua.ls Logo

SATO s86ex - Notification Function

SATO s86ex
380 pages
To Next Page IconTo Next Page
To Next Page IconTo Next Page
To Previous Page IconTo Previous Page
To Previous Page IconTo Previous Page
Loading...
8 Appendix
316
S84-ex/S86-ex Operator Manual
8.6
Notification Function
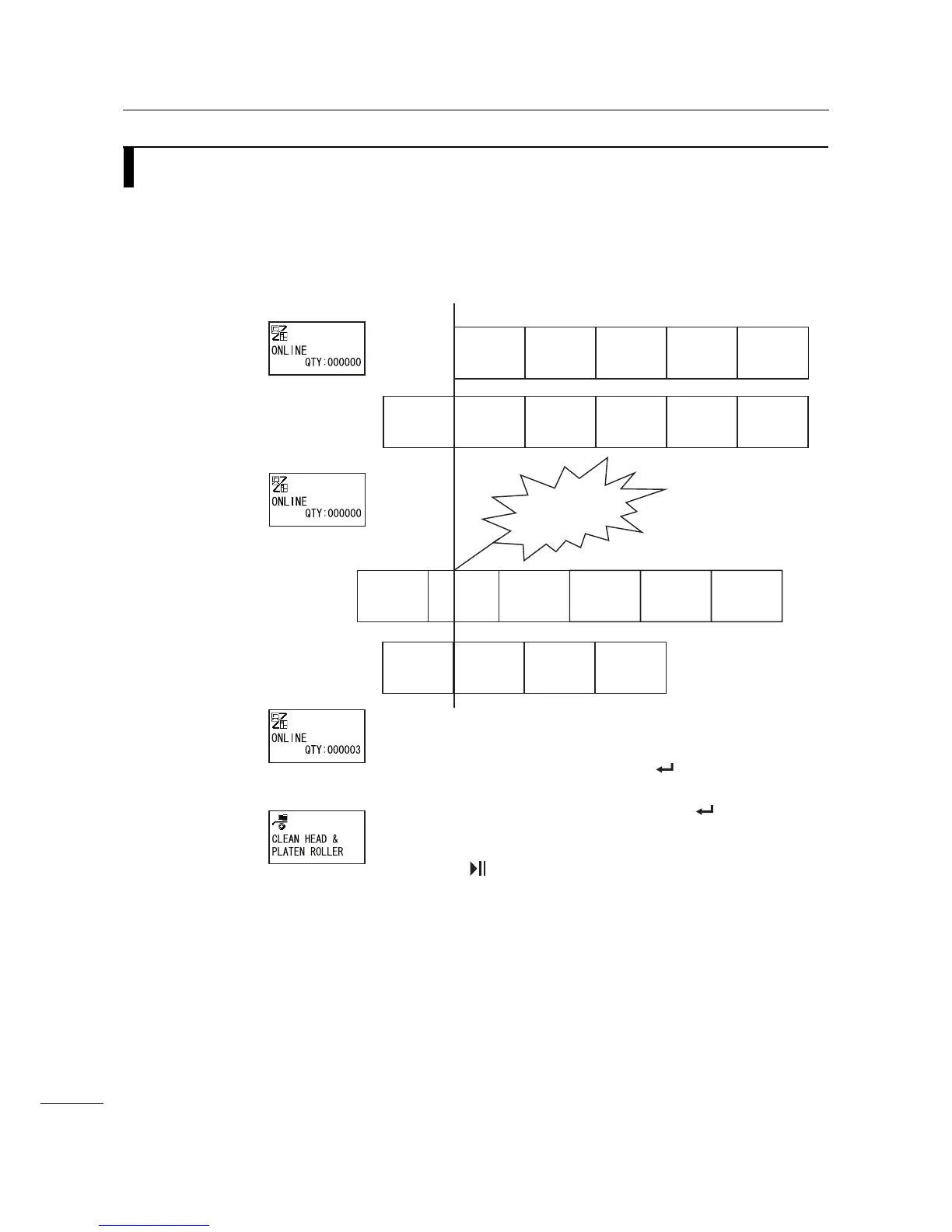
This section shows the media motion when the set notification interval has been reached.
You can set the notification function in the NOTIFICATION FUNCTION SETTING screen of the user
mode menu.
Print head position
Standby
PRINTING…
Standby
After three seconds
Warning
message
(1)
(2)
(3)
(1) (2)
(3)
(1)
(2) (3)
Notification distance
has been reached.
(3)
The counter is cleared by pressing the ENTER button while
the warning message is shown. (Start counting from 0 again.)
When resuming printing without pressing the
ENTER button,
the printer enters the offline mode and the counter is not cleared.
(The warning is shown again while in standby mode.)
When the LINE button is pressed, the printer enters online or
offline mode from the warning screen. The same goes for other
buttons, entering each screen.

Table of Contents

Other manuals for SATO s86ex

Related product manuals