EasyManua.ls Logo

SATO s86ex - Optional UHF RFID Configuration

SATO s86ex
380 pages
Print Icon
To Next Page IconTo Next Page
To Next Page IconTo Next Page
To Previous Page IconTo Previous Page
To Previous Page IconTo Previous Page
Loading...
8 Appendix
338
S84-ex/S86-ex Operator Manual
8.11
Optional UHF RFID Configuration
This section provides more information on the RFID operations.
1 Examine the media to determine the
printer settings.
Refer to the S84ex UHF Inlay Configuration
Guide for the measurements you should take and
what they mean, as well as a list of inlays and
their required configurations.
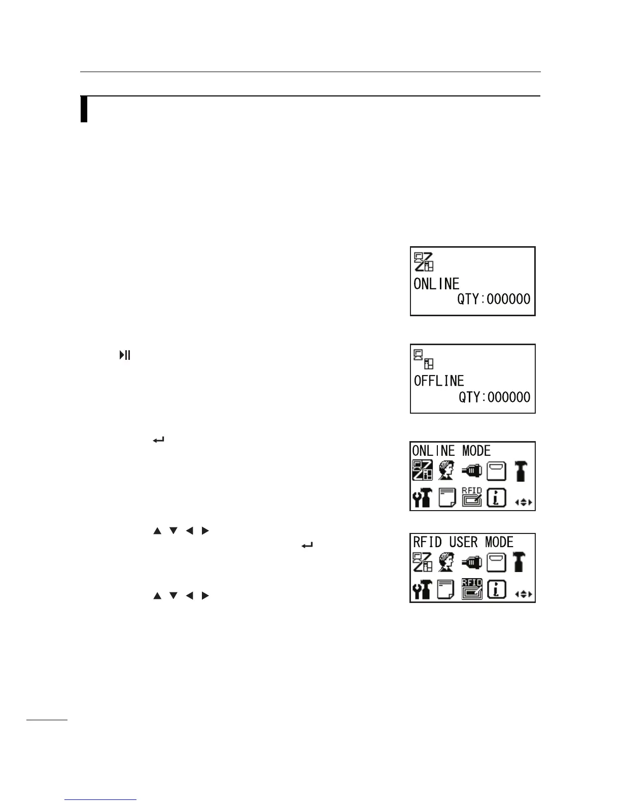
2 Press the power switch on the operator
panel to “I” position.
3 When the printer is in online mode, press
the LINE button on the operator panel
to change to offline mode.
4 Press the ENTER button to show the
setting mode menu.
5 Press the /// buttons to select
RFID USER MODE and then press the
ENTER button.
The RFID USER MODE screen shows.
6 Press the /// buttons to select
the item or set the value accordingly. The
active arrow icons are shown on the
screen.
Refer to Section 4.2.15 RFID User Mode for
details on the configuration items.

Table of Contents

Other manuals for SATO s86ex

Related product manuals