EasyManua.ls Logo

Schweitzer Engineering SEL-387-0 - Figure 5.2 Station DC Battery Monitor Alarm Logic; Figure 5.3 Undervoltage and Overvoltage Warning and Alarm Regions

Schweitzer Engineering SEL-387-0
556 pages
Print Icon
To Next Page IconTo Next Page
To Next Page IconTo Next Page
To Previous Page IconTo Previous Page
To Previous Page IconTo Previous Page
Loading...
5.8
SEL-387-0, -5, -6 Relay Instruction Manual Date Code 20170601
Metering and Monitoring
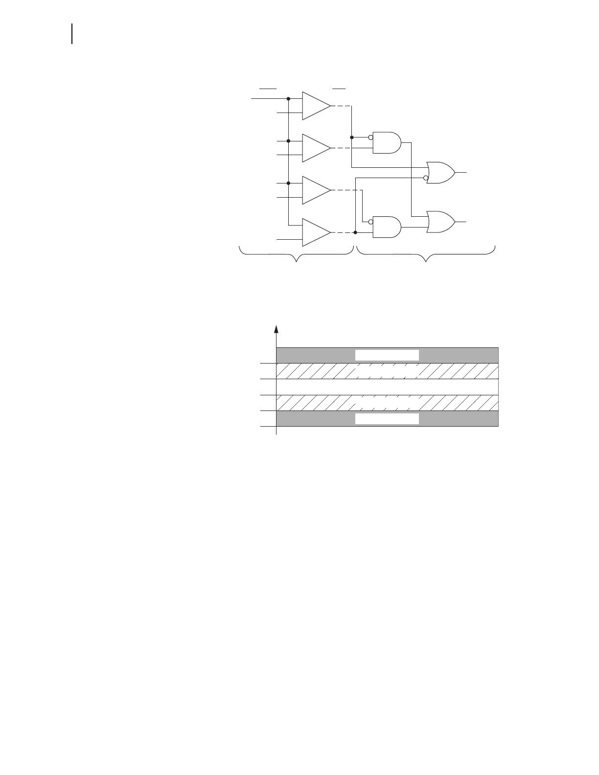
Station DC Battery Monitor
Figure 5.2 Station DC Battery Monitor Alarm Logic
Figure 5.3 Undervoltage and Overvoltage Warning and Alarm Regions
From Figure 5.2 and Figure 5.3, you can see that no warning or alarm triggers
so long as the battery dc voltage neither exceeds DC3P nor falls below DC2P.
The relay triggers a warning for voltages exceeding DC3P or falling below
DC2P. The relay triggers a failure alarm for voltages exceeding DC4P or
falling below DC1P. For example, if the battery voltage exceeds the DC3P
threshold, but falls below the DC4P threshold, the Relay Word bit DC3 asserts
and the relay triggers a warning.
Detection of Voltage
Dips in Event Reports
You can also use the battery monitor voltage threshold settings to detect
momentary supply voltage fluctuations during periods of high demand on the
station battery and charger system. The digital event report lists assertion of
Relay Word bits DC1 through DC4. View this listing with the EVE D serial
port command. To trigger an event report, include these bits in the SEL
OGIC
control equation ER (event report trigger setting). Use the CEV command to
retrieve a compressed event report containing the value of the station dc
battery voltage during the event.
Relay
Word
Bits
Setting
_
+
_
+
_
+
_
+
DC4
DC3
DC2
DC1
VDC
DC4P
DC3P
DC2P
DC1P
S1V1
S1V2
FAIL
WARN
SEL
OGIC Control EquationsStation DC Battery Monitor
S1V1 = !DC1 + DC4
S1V2 = DC1 * !DC2 + DC3 * !DC4
GOOD
FAIL
FAIL
WARN
WARN
VDC
DC4P
DC3P
DC2P
DC1P

Table of Contents