EasyManua.ls Logo

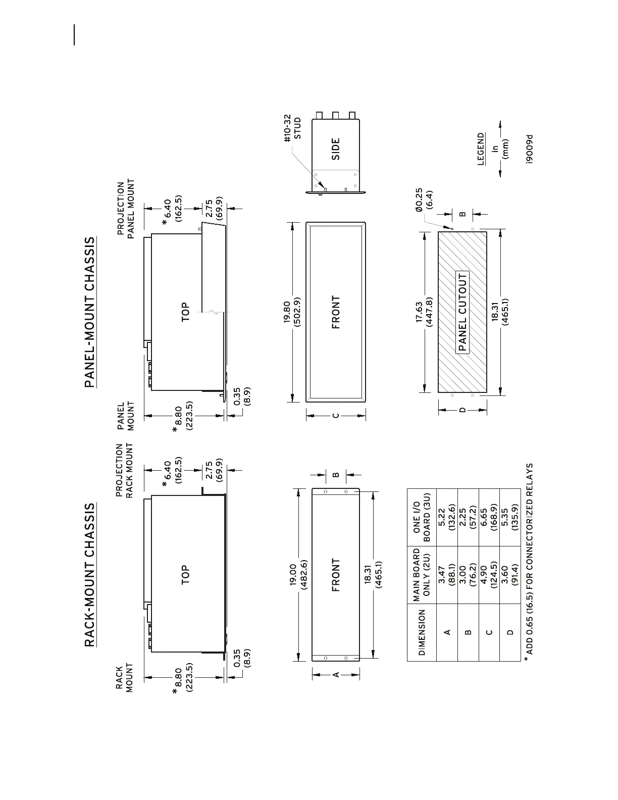
Schweitzer Engineering SEL-387-0 - Figure 2.1 Relay Dimensions for Rack-Mount and Panel-Mount Models

Schweitzer Engineering SEL-387-0
556 pages
Print Icon
To Next Page IconTo Next Page
To Next Page IconTo Next Page
To Previous Page IconTo Previous Page
To Previous Page IconTo Previous Page
Loading...
2.2
SEL-387-0, -5, -6 Relay Instruction Manual Date Code 20170601
Installation
Relay Mounting
Dimensions and
Cutout
Figure 2.1 Relay Dimensions for Rack-Mount and Panel-Mount Models

Table of Contents