EasyManua.ls Logo

Siemens SINAMICS S120 - Page 1060

Siemens SINAMICS S120
1094 pages
To Next Page IconTo Next Page
To Next Page IconTo Next Page
To Previous Page IconTo Previous Page
To Previous Page IconTo Previous Page
Loading...
Appendix
A.4 Parameterization using the BOP20
Drive functions
1060 Function Manual, 11/2017, 6SL3097-4AB00-0BP5
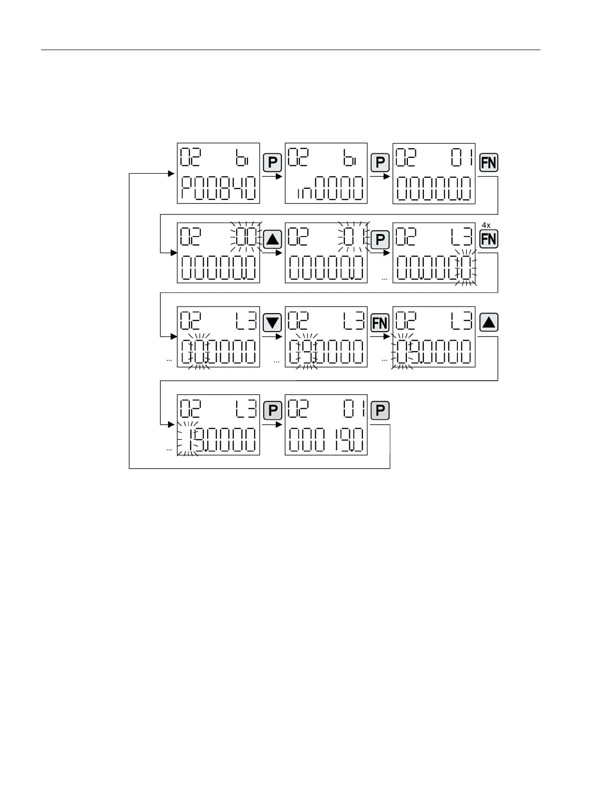
Example: Changing binector and connector input parameters
For the binector input p0840[0] (OFF1) of drive object 2 binector output r0019.0 of the
Control Unit (drive object 1) is interconnected.
Figure A-12 Example: Changing indexed binector parameters

Table of Contents

Other manuals for Siemens SINAMICS S120

Related product manuals