EasyManua.ls Logo

Tormach 1100MX - Lubrication System Diagram

Tormach 1100MX
270 pages
Print Icon
To Next Page IconTo Next Page
To Next Page IconTo Next Page
To Previous Page IconTo Previous Page
To Previous Page IconTo Previous Page
Loading...
13: DIAGRAMS AND PARTS LISTS
©Tormach® 2020
Specifications subject to change without notice.
Page 253 Tormach 1100MX Operator's Manual (Version 0720A)
For the most recent version, see tormach.com/support
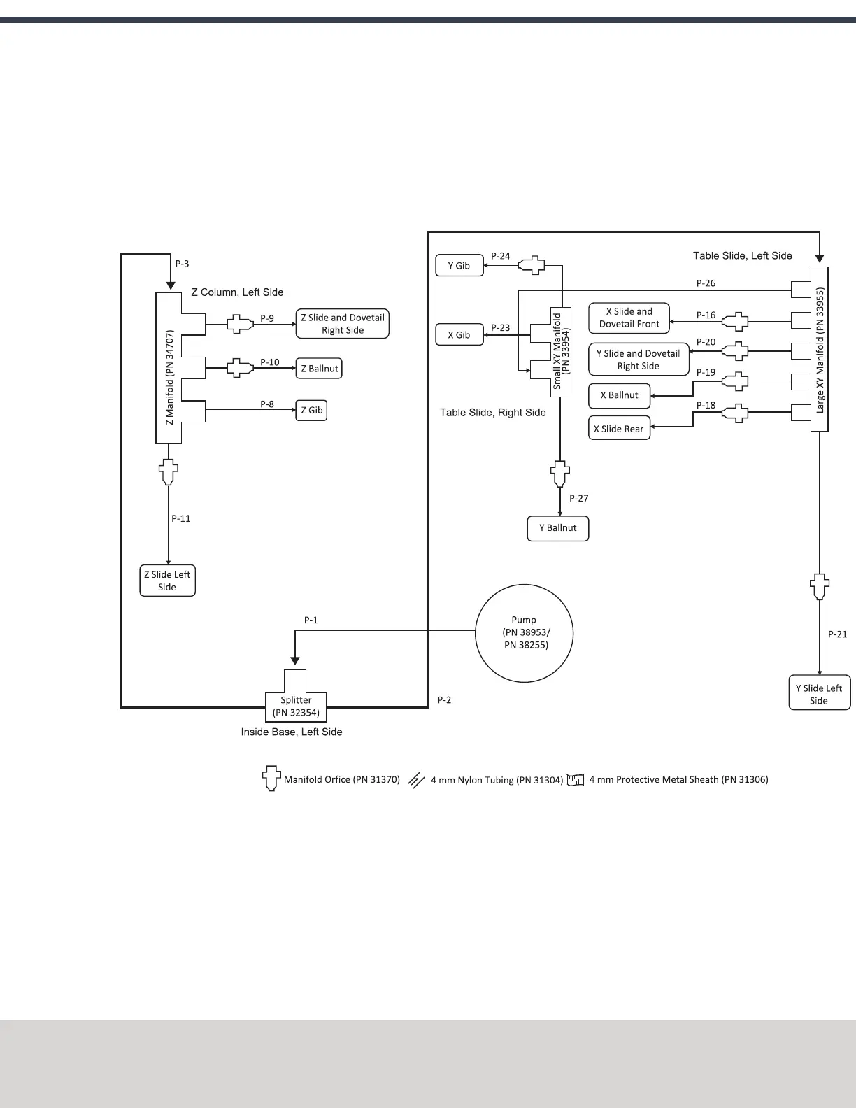
13.23 LUBRICATION SYSTEM DIAGRAM

Table of Contents