EasyManua.ls Logo

AAton CANTAR X3 - ANNEXES; Connectors Overview

AAton CANTAR X3
85 pages
Print Icon
To Next Page IconTo Next Page
To Next Page IconTo Next Page
To Previous Page IconTo Previous Page
To Previous Page IconTo Previous Page
Loading...
ANNEXES
I. Connectors
1. Mini Delta Ribbon
As seen from the outside (user's side)
Pin description:
- 1, 2: Ground
- 3: LTC In
- 4: Ascii
- 9: World clock out
- 10 & 23: Tally (no polarity)
- 11: Cantarem
- 12: AES-6 Out -
- 13: AES-6 Out +
- 14 & 15: V Batt
- 16: LTC Out
- 21: World clock In
- 22: Ground
- 24: Power On/Off
- 25: AES-5 Out -
- 26: AES-5 Out +
- Other pins: reserved for future use, do not connect.
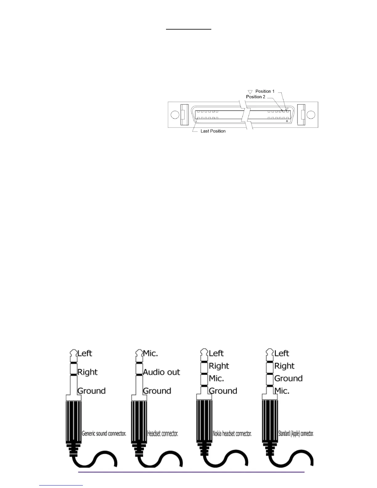
2. Headphone Jack 6.35mm & Slate Mic Jack 3.5mm
Cantar uses:
- a generic sound connector for its Jack 6,35mm headphone connector.
- a Nokia type headset connector for its Slate Mic Jack 3,5mm, 4 points, connector.
Cantar X3
72

Table of Contents

Related product manuals