EasyManua.ls Logo

ABB ACS355 series - PID control macro

ABB ACS355 series
436 pages
To Next Page IconTo Next Page
To Next Page IconTo Next Page
To Previous Page IconTo Previous Page
To Previous Page IconTo Previous Page
Loading...
Application macros 115
PID control macro
This macro provides parameter settings for closed-loop control systems such as
pressure control, flow control, etc. Control can also be switched to speed control
using a digital input. To enable the macro, set the value of parameter 9902 APPLIC
MACRO to 6 (PID CONTROL).
For the parameter default values, see section Default values with different macros on
page 180. If you use other than the default connections presented below, see section
I/O terminals on page 53.
Note: The default I/O connections described below are applicable to firmware version
5.050 or later. For the default values in earlier firmware versions, see Revision A of
this users manual.
Note: Parameter 2108 START INHIBIT must remain in the default setting 0 (OFF).
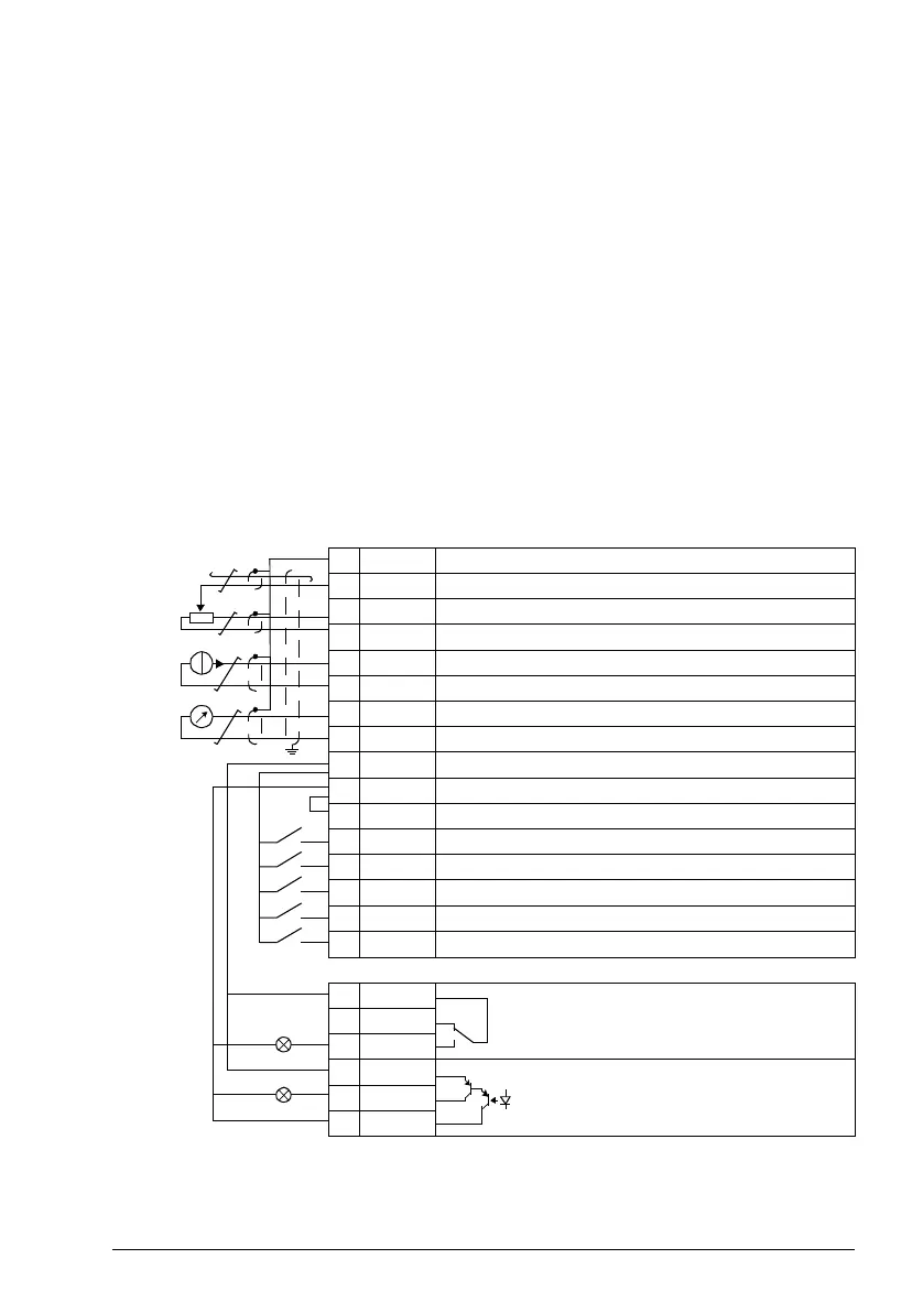
Default I/O connections
X1A
1 SCR Signal cable shield (screen)
2AI1 Proc. ref. (PID) / Motor freq. ref. (Hand): 0…10 V
1)
3 GND Analog input circuit common
4 +10V Reference voltage: +10 V DC, max. 10 mA
5AI2 Process actual value: 4…20 mA
3)
6 GND Analog input circuit common
7AO Motor speed value: 0…20 mA
8 GND Analog output circuit common
9 +24V Auxiliary voltage output: +24 V DC, max. 200 mA
10 GND Auxiliary voltage output common
11 DCOM Digital input common
12 DI1 Stop (0) / Start (1) (PID)
13 DI2 PID (0) / Hand (1) control selection
14 DI3 Constant speed 1: parameter 1202
15 DI4 Run enable
16 DI5 Stop (0) / Start (1) (Hand)
X1B
17 ROCOM Relay output 1
No fault [Fault (-1)]
18 RONC
19 RONO
20 DOSRC Digital output, max. 100 mA
No fault [Fault (-1)]
21 DOOUT
22 DOGND
max. 500 ohm
1…10 kohm
2)
1)
Hand: 0…10 V -> speed reference.
PID: 0…10 V -> 0…100% PID setpoint.
2)
360 degree grounding under a clamp.
3)
The signal source is powered externally. See the
manufacturer’s instructions. To use sensors
supplied by the drive aux. voltage output, see page
55.
Tightening torque: 0.4 N·m / 3.5 lbf·in.
Safe torque off connections (X1C:STO; not shown in
the diagram) are jumpered by default.

Table of Contents

Other manuals for ABB ACS355 series

Related product manuals