EasyManua.ls Logo

BK Precision 894 - Page 109

BK Precision 894
112 pages
Print Icon
To Next Page IconTo Next Page
To Next Page IconTo Next Page
To Previous Page IconTo Previous Page
To Previous Page IconTo Previous Page
Loading...
109
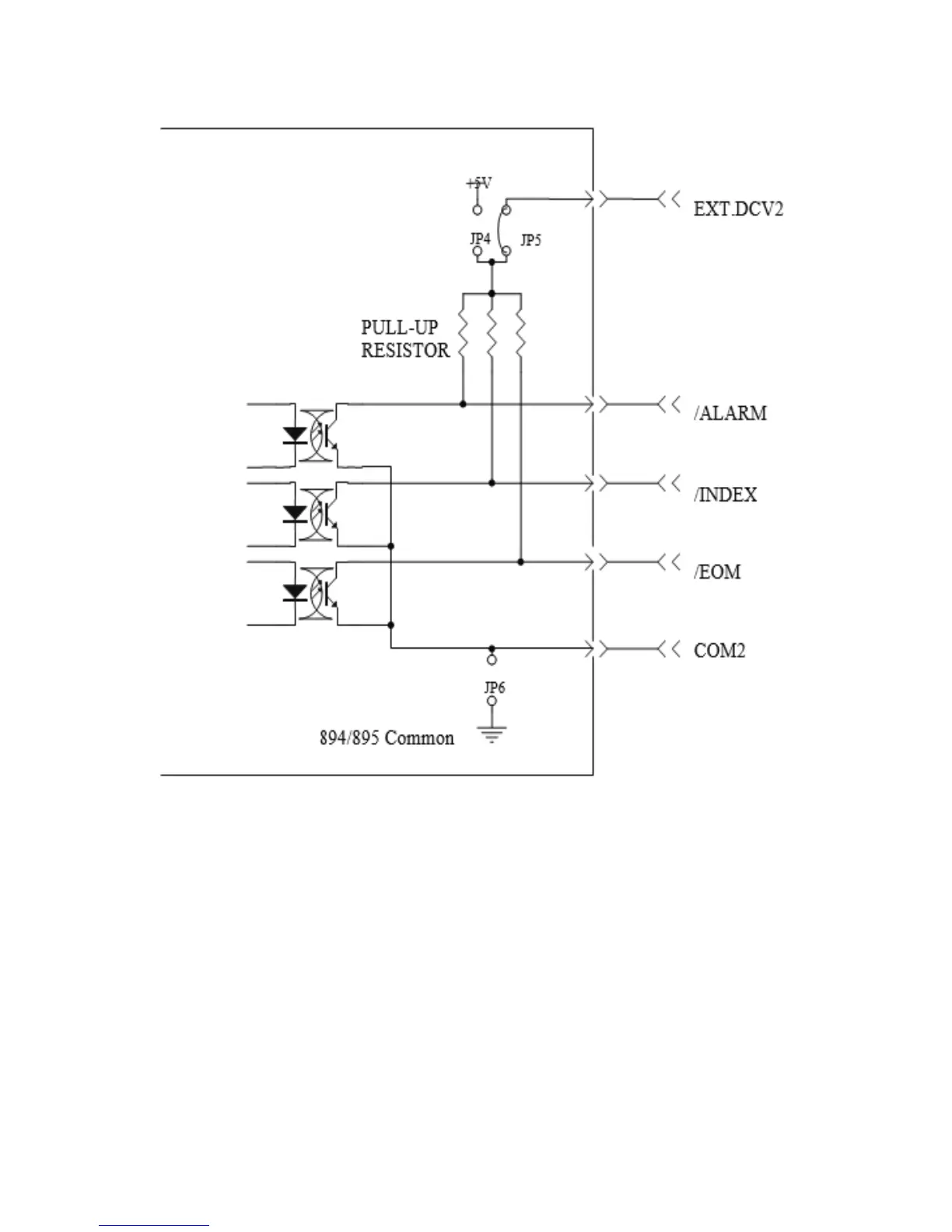
Figure 38 - Output Circuit for Control Signal
www.GlobalTestSupply.com
Find Quality Products Online at: sales@GlobalTestSupply.com

Table of Contents

Related product manuals