EasyManua.ls Logo

Canon GP160DF - Page 190

Canon GP160DF
797 pages
Print Icon
To Next Page IconTo Next Page
To Next Page IconTo Next Page
To Previous Page IconTo Previous Page
To Previous Page IconTo Previous Page
Loading...
COPYRIGHT
©
1999 CANON INC. CANON GP160 REV.0 FEB. 1999 PRINTED IN JAPAN (IMPRIME AU JAPON)
CHAPTER 10 CASSETTE FEEDER
10-2
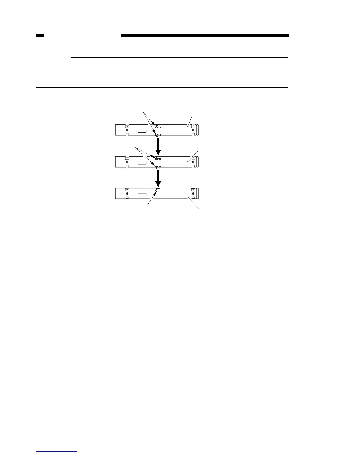
Reference:
With the three level cassette feeder, in the lowest cassette feeder there is no inter-
face connector provided between this and a lower feeder. Therefore, the lowerst cas-
sette feeder cannot be used as the first or second cassette feeder.
Figure 10-103
First cassette feeder
Second cassette feeder
Third cassette feeder
Interface connector
Interface connector
Interface connector

Table of Contents

Other manuals for Canon GP160DF

Related product manuals