EasyManua.ls Logo

Canon GP160DF - Page 31

Canon GP160DF
797 pages
Print Icon
To Next Page IconTo Next Page
To Next Page IconTo Next Page
To Previous Page IconTo Previous Page
To Previous Page IconTo Previous Page
Loading...
COPYRIGHT
©
1999 CANON INC. CANON GP160 REV.0 FEB. 1999 PRINTED IN JAPAN (IMPRIME AU JAPON)
CHAPTER 1 INTRODUCTION
1-19
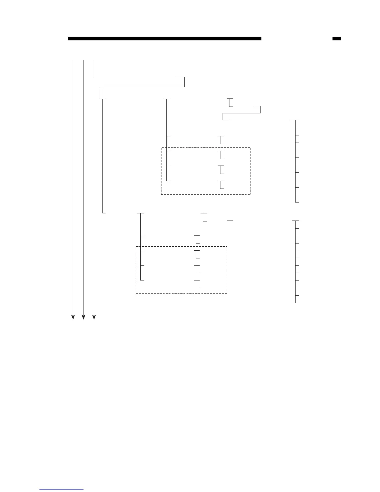
Figure 1-408
07 CASSETTE ELIGIBLTY
01 FAX RECEIVING
02 COPY
01 A3
02 A4
03 B4
04 B5
05 A4R
06 A5
07 B5R
08 A5R
09 11 x 17
10 LTR
11 LTRR
12 LGL
01 STACK BYPASS
02 CASSETTE 1
03 CASSETTE 2
04 CASSETTE 3
05 CASSETTE 4
01 OFF
02 ON
01 A3
02 A4
03 B4
04 B5
05 A4R
06 A5
07 B5R
08 A5R
09 11 x 17
10 LTR
11 LTRR
12 LGL
01 STACK BYPASS
02 CASSETTE 1
03 CASSETTE 2
04 CASSETTE 3
05 CASSETTE 4
01 OFF
02 ON
01 OFF
02 ON
01 OFF
02 ON
01 OFF
02 ON
01 OFF
02 ON
01 OFF
02 ON
01 OFF
02 ON
01 OFF
02 ON
01 OFF
02 ON
*1
*1
BYPASS DOC. SIZE
BYPASS DOC. SIZE
*1 Setting is only possible when a option cassette feeder is installed.

Table of Contents

Other manuals for Canon GP160DF

Related product manuals