EasyManua.ls Logo

Daikin Super Multi Plus E-Series - Care and Cleaning

Daikin Super Multi Plus E-Series
456 pages
Print Icon
To Next Page IconTo Next Page
To Next Page IconTo Next Page
To Previous Page IconTo Previous Page
To Previous Page IconTo Previous Page
Loading...
Instruction SiEN18-622
234 System Configuration
2.2.15 Care and cleaning
FTK(X)S 20/25/35 D, FTK(X)S 25/35 E
CAUTION
CAUTION
Before cleaning, be sure to stop the operation and turn the breaker OFF.
UNITS
Indoor unit, Outdoor unit and Remote control
1. Wipe them with dry soft cloth.
Front panel
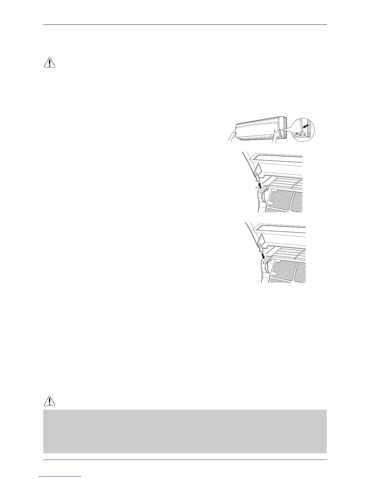
1. Open the front panel.
Hold the panel by the tabs on the two sides
and lift it until it stops with a click.
2. Remove the front panel.
Lift the front panel up, slide it slightly to the
right, and remove it from the horizontal axle.
3. Clean the front panel.
Wipe it with a soft cloth soaked in water.
Only neutral detergent may be used.
In case of washing the panel with water, dry
it with cloth, dry it up in the shade after
washing.
4. Attach the front panel.
Set the 2 keys of the front panel into the slots
and push them in all the way.
Close the front panel slowly and push the
panel at the 3 points. (1 on each side and 1 in
the middle).
Don’t touch the metal parts of the indoor unit. If you touch those parts, this may cause an injury.
When removing or attaching the front panel, use a robust and stable stool and watch your steps carefully.
When removing or attaching the front panel, support the panel securely with hand to prevent it from falling.
For cleaning, do not use hot water above 40 °C, benzine, gasoline, thinner, nor other volatile oils, polishing compound,
scrubbing brushes, nor other hand stuff.
After cleaning, make sure that the front panel is securely fixed.
Fit the key
into the slot.

Table of Contents

Related product manuals