EasyManua.ls Logo

Daikin Super Multi Plus E-Series - Indoor Units

Daikin Super Multi Plus E-Series
456 pages
Print Icon
To Next Page IconTo Next Page
To Next Page IconTo Next Page
To Previous Page IconTo Previous Page
To Previous Page IconTo Previous Page
Loading...
Piping Diagrams SiEN18-622
416 Appendix
1.3 Indoor Units
1.3.1 Wall Mounted Type
FTKS20/25/35DVMA
FTKS25/35DVM
FTKS25/35EVMA
FTXS20/25/35DVMA
FTXS25/35EVMA
FTXS20/25/35DVMT
FTKS50/60FVMA FTKS50/60BVMB, FTKS50/60BVMA8
FTXS50/60FVMA, FTXS50/60BVMA8
FTXS50/60DVMT
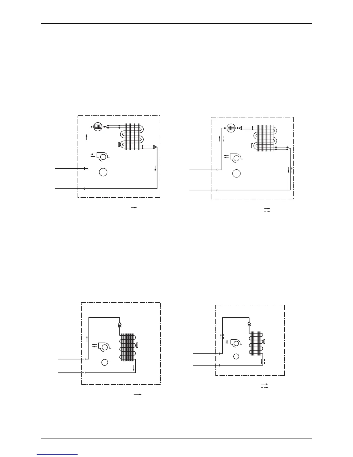
Field piping
Field piping
(9.5CuT)
(6.4CuT)
7.9CuT
Maffler assy
Cross flow fan
Fan motor
Thermistor
on heat exch.
Indoor unit
M
6.4CuT
7.0CuT
9.5CuT
Heat exchanger
Refrigerant flow
6.4CuT
6.4CuT
4D050757A
Cooling
(
9.5CuT
)
(
6.4CuT
)
7.9CuT
M
6.4CuT
7.0CuT
9.5CuT
6.4CuT
6.4CuT
4D047912E
Field piping
Field piping
Maffler assy
Cross flow fan
Fan motor
Thermistor
on heat exch.
Indoor unit
Heat exchanger
Refrigerant flow
Cooling
Heating
(12.7CuT)
M
(7.9CuT)
(12.7CuT)
(6.4CuT)
4D054932
Field piping
Field piping
Cross flow fan
Fan motor
Thermistor
on heat exch.
Indoor unit
Heat exchanger
Refrigerant flow
Cooling
(
12.7CuT
)
(
6.4CuT
)
(
7.9CuT
)
(
12.7CuT
)
M
4D040081N
Field piping
Field piping
Cross flow fan
Fan motor
Thermistor
on heat
exch.
Indoor unit
Heat exchanger
Refrigerant flow
Cooling
Heating

Table of Contents

Related product manuals