EasyManua.ls Logo

Evector SportStar RTC - Page 74

Default Icon
354 pages
Print Icon
To Next Page IconTo Next Page
To Next Page IconTo Next Page
To Previous Page IconTo Previous Page
To Previous Page IconTo Previous Page
Loading...
ERTC022-10-AS
MAINTENANCE MANUAL
06-40
Page 06-8
2019-03-22
Effectivity: All
Edition 2 | Rev. 1
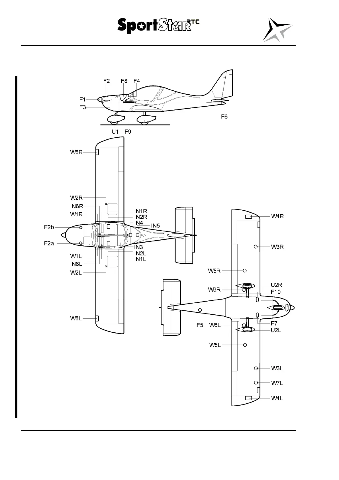
2. LIST OF COVERS AND LIDS ON THE AIRPLANE
Figure 06-2 Lids and covers on the airplane

Table of Contents

Related product manuals