EasyManua.ls Logo

Flow MACH 300 - Page 63

Flow MACH 300
185 pages
Print Icon
To Next Page IconTo Next Page
To Next Page IconTo Next Page
To Previous Page IconTo Previous Page
To Previous Page IconTo Previous Page
Loading...
© 2021 Flow International Corp.
Retrieved from Flow KB on April 13, 2021 PST
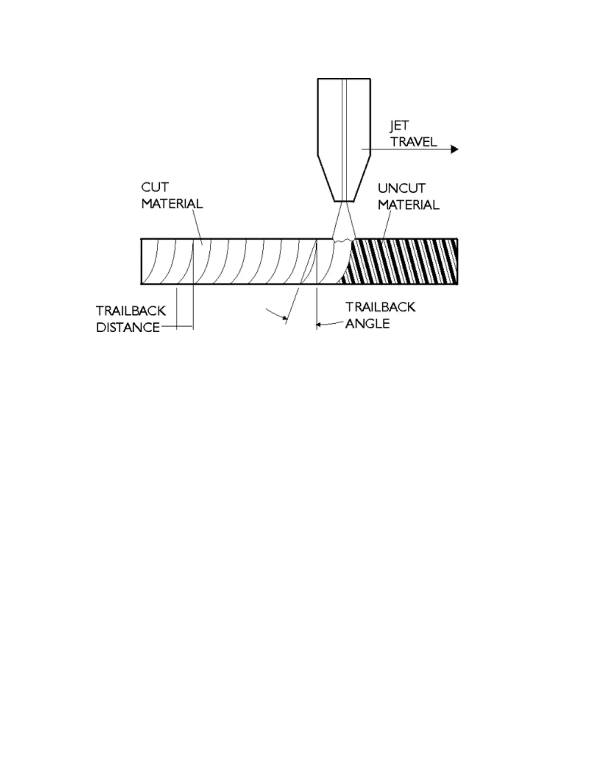
Cutting with Dynamic Waterjet

Table of Contents

Related product manuals