EasyManua.ls Logo

gefran SIEIDrive ADV100 - Page 105

gefran SIEIDrive ADV100
112 pages
To Next Page IconTo Next Page
To Next Page IconTo Next Page
To Previous Page IconTo Previous Page
To Previous Page IconTo Previous Page
Loading...
ADV100 • Quick installation guide - Specifications and connection 105
Isolation NO
AI-X
AI-X
-
+
AI-X
500
OP
(*)
(*) Selezione ingresso V/I (V=OFF, I=ON)
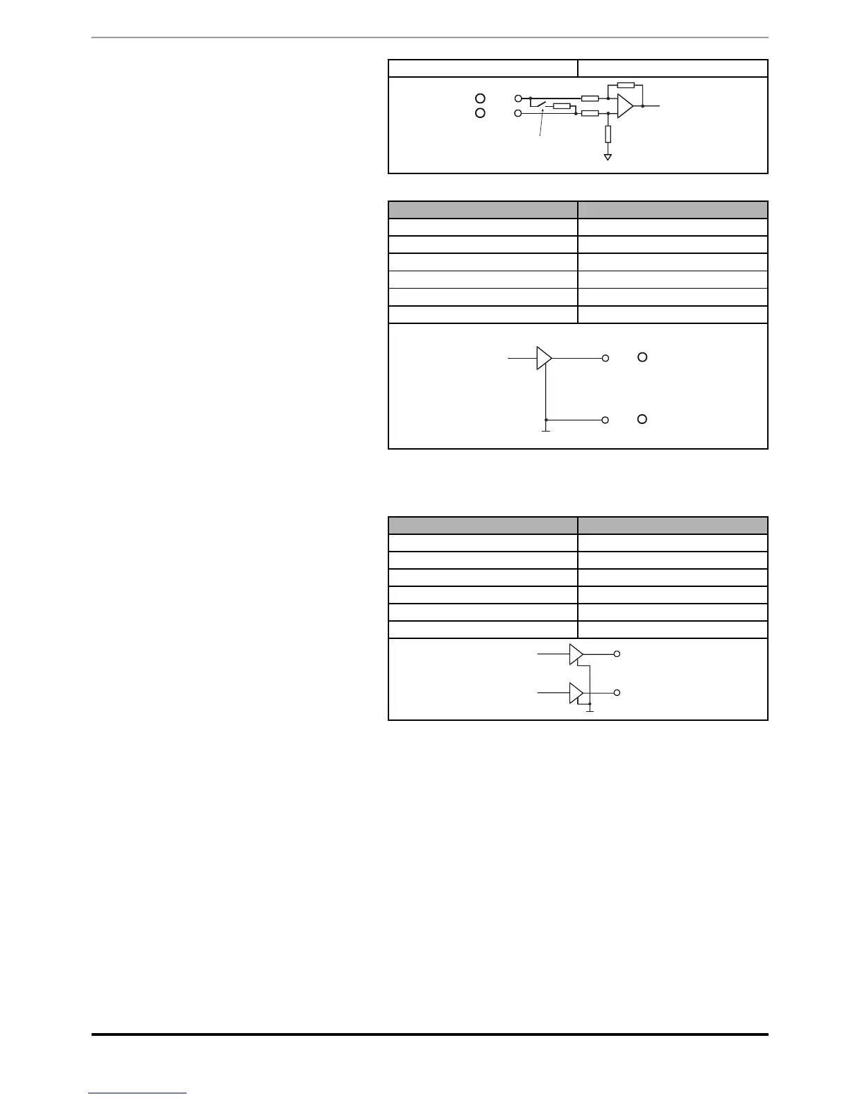
Analog outputs (AO)
Description Features
Type Single-ended in voltage
Input voltage ± 10 V (± 12.5 V full scale)
Load 5 mA @ ± 10 V - Rl = 2.2 kΩ
Resolution 12 Bits (11 + sign)
Precision 2% of full scale
Isolation NO
AO-X
AO-X
AO-X
-
+
OP
OUTPUT #1
(*) Selezione uscita V/I (solo per uscita 2, V=1-2, I=1-3)
Analog reference outputs (±10)
Description Features
Type Single-ended in voltage
Operating voltage ± 10 V
Load 5 mA @ ± 10 V - Rl = 5 kΩ (max 10 mA)
Precision 1% of full scale
Isolation NO
Short-circuit protection YES
+10V
- 10V
+10V
- 10V
OP
OP

Table of Contents

Other manuals for gefran SIEIDrive ADV100

Related product manuals