EasyManua.ls Logo

HBM MP85A - Page 29

HBM MP85A
160 pages
Print Icon
To Next Page IconTo Next Page
To Next Page IconTo Next Page
To Previous Page IconTo Previous Page
To Previous Page IconTo Previous Page
Loading...
Electrical connection
MP85A A0293_06_E00_03 HBM: public 29
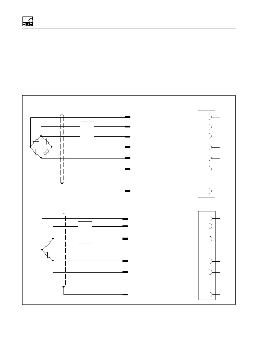
TEDS for half and full bridge sensors
If you are using full and half bridge sensors in a 6-wire circuit, TEDS (zero-
wire) modules can be used as an option. These are then connected to the
existing sense leads.
In the MP85A, the TEDS function cannot be used for sensors in a 4-wire
circuit.
ye
Full bridge
1
3
6
2
Hsg.
4
5
wh
bk
rd
bl
gn
gr
ye
Sense lead (-)
Cable shield
1
2
3
4
5
wh
bk
bl
gn
Sense lead (-)
Sense lead (+)
Cable shield
Half bridge
Measurement signal (+)
Measurement signal (+)
Transducer supply (-)
Transducer supply (-)
Transducer supply (+)
Measurement signal (-)
Sense lead (+)
Hsg.
Transducer supply (+)
TEDS
gr
TEDS
Fig. 5.5 Pin assignment (zero-wire TEDS) for sensors in a full and half bridge
configuration (6-wire circuit)

Table of Contents

Related product manuals