EasyManua.ls Logo

Hioki 3227 - Page 72

Hioki 3227
154 pages
Print Icon
To Next Page IconTo Next Page
To Next Page IconTo Next Page
To Previous Page IconTo Previous Page
To Previous Page IconTo Previous Page
Loading...
60
────────────────────────────────────────────────────
6.4 Using the Signals
────────────────────────────────────────────────────
C
OMP0 to
3
F
AST 400msMAX
M
EDIUM, SLOW 550msMA
X
T
able
a
T
able code
a
T
able code
b
T
able
b
C
OMP
3
――――――――
C
OMP
2
――――――――
C
OMP
1
――――――――
C
OMP
0
――――――――
Comparato
r
table
C
OMP
3
――――――――
C
OMP
2
――――――――
C
OMP
1
――――――――
C
OMP
0
――――――――
Comparato
r
table
H H H L No.1 L H H L No.9
H H L H No.2 L H L H No.10
H H L L No.3 L H L L No.11
H L H H No.4 L L H H No.12
H L H L No.5 L L H L No.13
H L L H No.6 L L L H No.14
H L L L No.7 L L L L No.16
H H H H No.8 H H H H
No
comparator
control
NOTE
M
easurement resu
lt
1
4 msMA
X
P
rintout of
a
M
easurement result
a
M
easurement result
b
P
RIN
T
R
esult
c
H
L
P
rintout of
b
NOTE
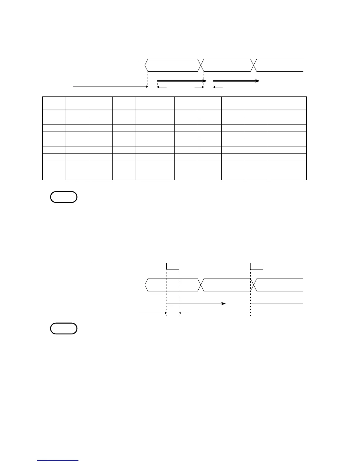
(5) Changing the Comparator Table
The comparator table used by the 3227 can be changed using signals COMP0
――――――――
to COMP3
――――――――
.
After switching comparator table, up to 550 ms are required for the internal
circuitry to stabilize. Therefore, no measurement should be taken for at least
550 ms after switching comparator table.
(6) Printing
Measurements displayed can be output to a printer connected to the printer
connector using the PRINT
―――――――
signal.
Refer to Chapter 9 Printer Interface concerning printers.
Output of any previous printout must be completed before printing the next
measurement.
Print time varies according to the speed of the connected printer.
Printout of the measurement displayed starts when the PRINT
―――――――
signal becomes
L. Before starting printing, check the EOC signal to verify that measurement
has been completed.

Table of Contents

Related product manuals