EasyManua.ls Logo

Hioki 3237 - Power Supply Fuse Replacement

Hioki 3237
169 pages
Print Icon
To Next Page IconTo Next Page
To Next Page IconTo Next Page
To Previous Page IconTo Previous Page
To Previous Page IconTo Previous Page
Loading...
148
_____________________________________________________________________________________________
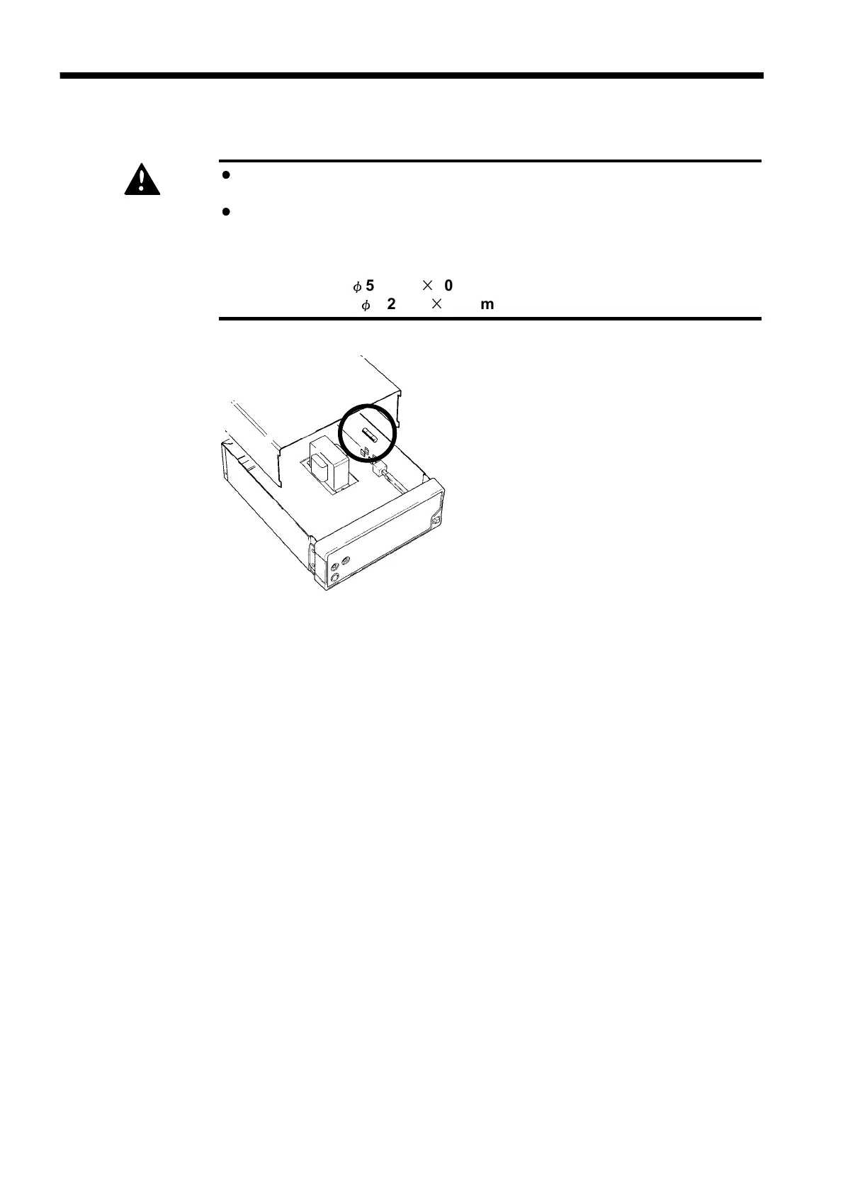
11.2 Power Supply Fuse Replacement
______________________________________________________________________________________________
DANGER
To avoid electrocution, turn off the power switch and disconnect the
power cord and test leads before removing the fuse.
Replace the fuse only with one of the specified characteristics and
voltage and current ratings. Using a non-specified fuse or shorting
the fuse holder may cause a life-threatening hazard.
Fuse type:
T0.5 AL/ 250 V,
φ
5.2 mm
×
20 mm(100/120V) (Littelfuse,INC 218.500)
T0.25 AL/ 250 V,
φ
5.2 mm
×
20 mm(220/240V) (Littelfuse,INC 218.250)
Fuse
11.2 Power Supply Fuse Replacement
1
. Turn off the unit power switch.
2
. Unplug the power cord from the power
inlet.
3
. Remove the screws from the side of the
upper case and detach the upper case.
4
. Remove the blown fuse and replace with
a spare fuse.
5
. Replace the upper case and fasten in
place with screws.

Table of Contents

Related product manuals