EasyManua.ls Logo

Hisense AHS-080HCDSAA-23 - Terminal Board 1 (Main Power Supply); Indoor; Outdoor Transmission Wiring; Terminal Board Connections

Hisense AHS-080HCDSAA-23
448 pages
Print Icon
To Next Page IconTo Next Page
To Next Page IconTo Next Page
To Previous Page IconTo Previous Page
To Previous Page IconTo Previous Page
Loading...
27
ELECTRICAL AND CONTROL SETTINGS
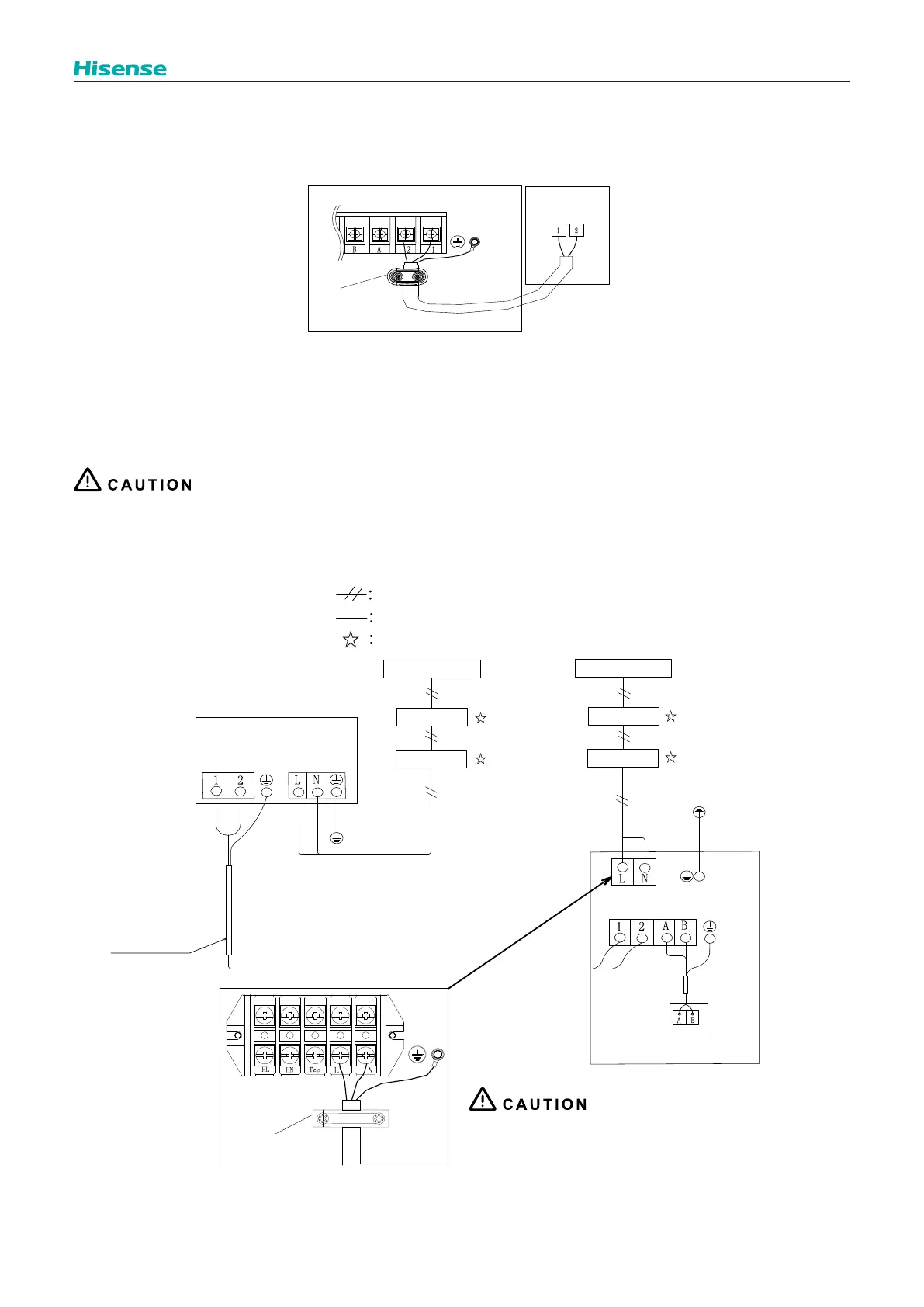
10.3 TERMINAL BOARD CONNECTIONS
10.3.1 Indoor / outdoor transmission wiring
The transmission is wired to terminals 1-2.
The shielding layer shall be grounded.
Indoor unit
Outdoor unit
Shielded cable
Fixed clamps
TB4 on PCB4
Use twist pair wires (0.75 mm²) for transmission wiring between outdoor unit and indoor unit. The wiring must consist of
2-core wires (Do not use wire with more than 3 cores).
Use shielded wires for transmission wiring to protect the units from noise interference, with a length of less than 300 m
and a size in compliance with local codes.


10.3.2 Terminal board 1 (Main power supply)
The main power supply connection is wired to the Terminal board (TB1) as follows:
TB: Terminal board
CB: Air circuit breaker
ELB: Earth leakage breaker
Power supply cables
Transmission cables
Field supplied, not contained in the indoor unit
Transmission cables
Shielded twisted pair
0.75 mm
2
x2
Heat pump
indoor unit
Master
controller
Heat pump
outdoor unit
220-240V ~ 50Hz
220-240V ~ 50Hz
TB4 on PCB4
ELB
ELB
CB
CB
TB1
TB2
TB1
Earth wire
Fixed clamps
Earth wire
Connect power line and earth wire to the harness.
Check and ensure live line and null line of terminal boards in
power supply are correctly connected. If connected incorrectly,
some parts may be damaged.

Table of Contents

Related product manuals