EasyManua.ls Logo

IBM N51 Series - 1070 Micro Switch Group

IBM N51 Series
503 pages
Print Icon
To Next Page IconTo Next Page
To Next Page IconTo Next Page
To Previous Page IconTo Previous Page
To Previous Page IconTo Previous Page
Loading...
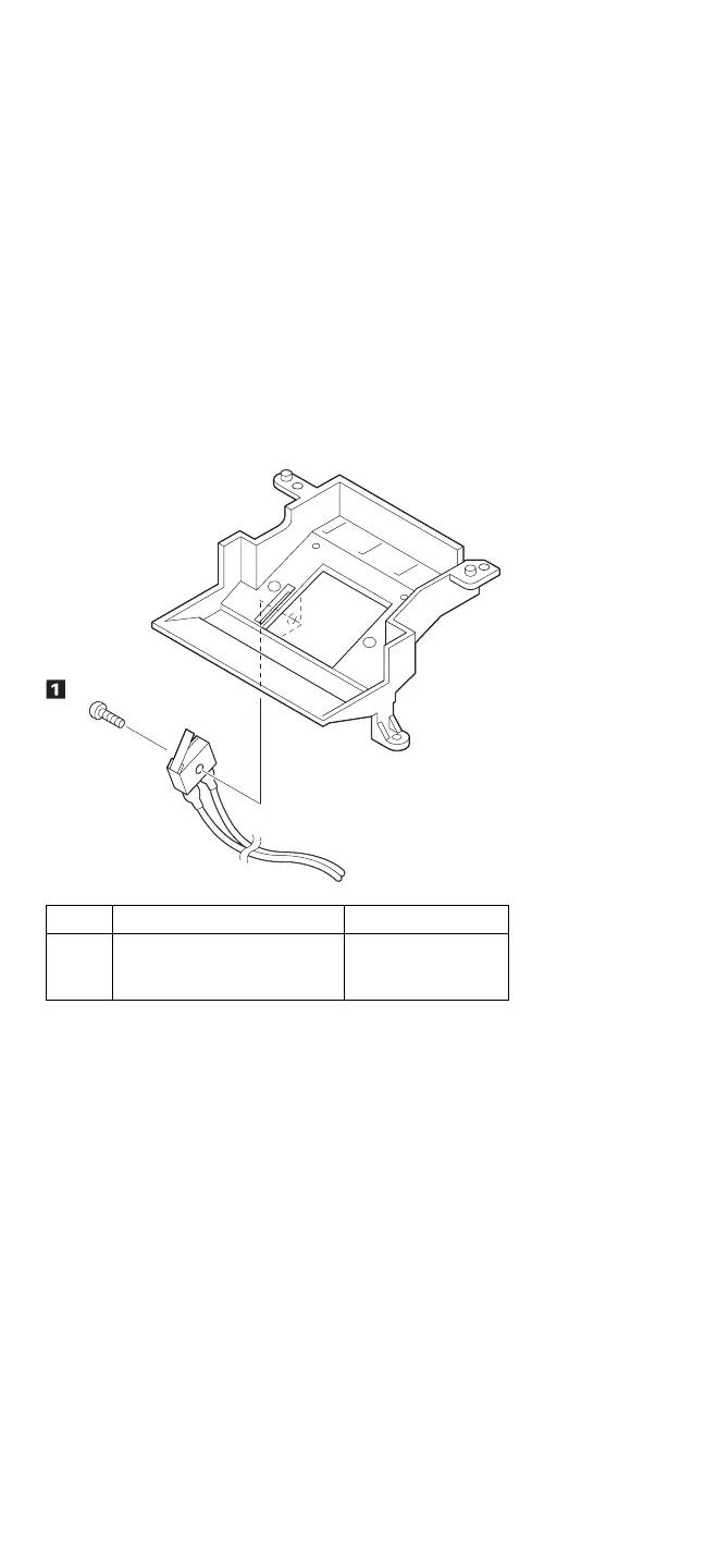
1070 Micro Switch Group
Removal
Main Cabinet Group (1010)
Power Supply Unit (1030) (.1/ .2/ .3/ .4/ .5/ .6/)
Keylock Assembly (1060)
.1/
Step Color and type (quantity) Length
.1/ Binding head tapping screw
(1)
Diameter: 2.3 mm (0.09 in.)
10 mm
(0.39 in.)
440 IBM Mobile Systems HMM - Volume 1

Table of Contents

Related product manuals