EasyManua.ls Logo

Intermec EasyCoder PX4i - Printer Options

Intermec EasyCoder PX4i
186 pages
Print Icon
To Next Page IconTo Next Page
To Next Page IconTo Next Page
To Previous Page IconTo Previous Page
To Previous Page IconTo Previous Page
Loading...
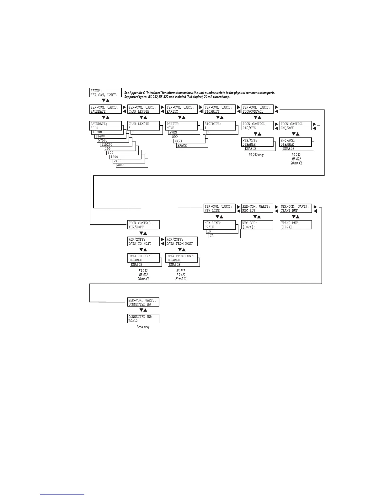
Chapter 7 — Setup Mode
86 EasyCoder PX4i Bar Code Label Printer User’s Guide (Fingerprint Version)
Serial Communication “uart3:” (option)
(Intermec Fingerprint v8.30)

Table of Contents

Other manuals for Intermec EasyCoder PX4i

Related product manuals