EasyManua.ls Logo

Iskra FPC 200 - Page 120

Default Icon
176 pages
Print Icon
To Next Page IconTo Next Page
To Next Page IconTo Next Page
To Previous Page IconTo Previous Page
To Previous Page IconTo Previous Page
Loading...
Settings
120 USER MANUAL FPC 200 - 3/2017
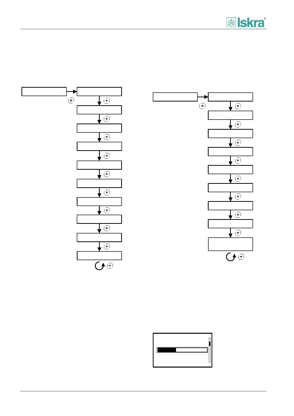
4.2.4.1.3 Diagnostic
In diagnostic section all the data about device,
switchgear and as well as temperatures and
temperature calculation of the protection is presented.
The seen on figure below. The corresponding menus
may differ according to version of software used.
Digital I/O
Time and date
CB counter
Diagnostic
Machine control
Temperature
49T
49M
Starts per hour
Communication
Device info
Figure 4.10 Section of diagnostic menu overview
4.2.4.2 Measurements
All data measured from analog inputs is presented in
measurements menu. The corresponding menus may
differ according to version of software used. Example of
the device with current measurement is found in
schematic below.
Average values
Maximal values
Phase values
Percent values
First Harmonics
Harmonics
Phase unbalance
Measurements
Frequency
Symmetrical
components
Figure 4.11 Section of measurements menu overview.
4.2.4.2.1 Average values
Indication for average value of user defined window of
data is in minutes. Window length can be set in General
settings menu screen as parameter Cycle time. On
defined amount of cycle time a magnitude of measured
value is calculated based on samples taken every
second. Bar of cycle time is shown for a brief period
every time the screen is shown.
IL3avg=135 A
IL2avg=128 A
Ieavg=0.25A
IL1avg=132 A
Cycle=10min

Table of Contents

Related product manuals