EasyManua.ls Logo

LeeBoy L600 - Spray Wand Group

LeeBoy L600
166 pages
Print Icon
To Next Page IconTo Next Page
To Next Page IconTo Next Page
To Previous Page IconTo Previous Page
To Previous Page IconTo Previous Page
Loading...
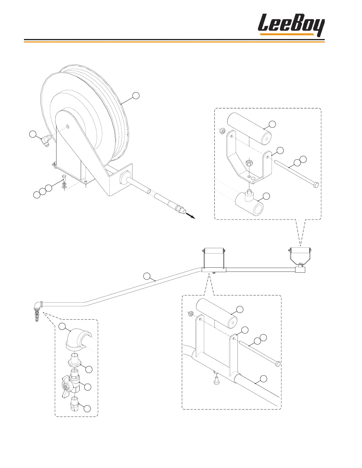
Figure 7-11. Spray Wand Group
1
2
3
4
5
TO
SPRAY
WAND
6
13
14
18
17
16
13
14
15
12
11
7
8
9
10
Spray Wand Group
L300 and L600 Tack Distributors
Illustrated Parts List
7-24

Table of Contents

Related product manuals