EasyManua.ls Logo

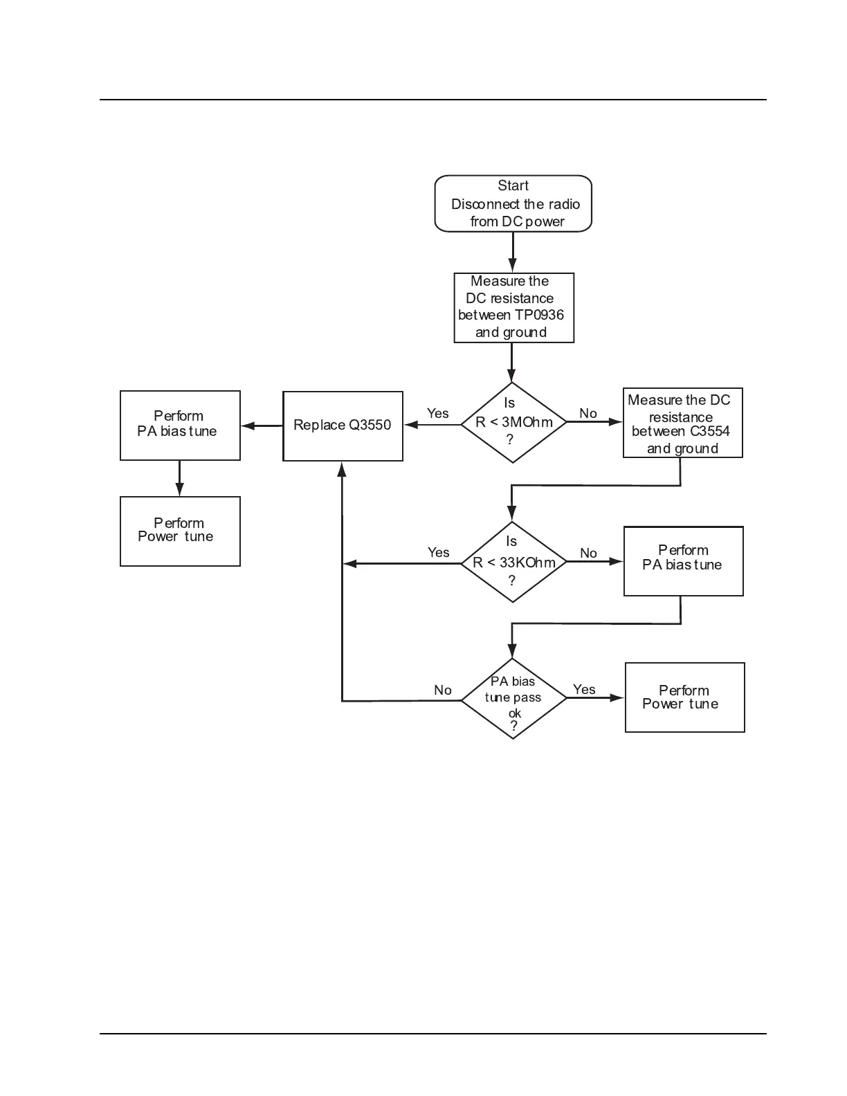
Motorola Astro XTL 1500 - Figure 5-14. no Output Power and IDC < 2 A at TX Mode (136-174 Mhz); No Output Power and IDC < 2 A at TX Mode (136-174 Mhz)

Motorola Astro XTL 1500
452 pages
To Next Page IconTo Next Page
To Next Page IconTo Next Page
To Previous Page IconTo Previous Page
To Previous Page IconTo Previous Page
Loading...
6815854H01-A June 15, 2005
Troubleshooting Charts: Flowcharts 5-23
5.6.12 No Output Power and IDC < 2A at TX Mode (136–174 MHz)
Figure 5-14. No Output Power and IDC < 2A at TX Mode (136–174 MHz)


 



 

!

"
Start
#$


%%&

' ( %%

!  



)
#

!  
$


#
$

Table of Contents

Related product manuals