EasyManua.ls Logo

Munters Element - Page 22

Munters Element
83 pages
Print Icon
To Next Page IconTo Next Page
To Next Page IconTo Next Page
To Previous Page IconTo Previous Page
To Previous Page IconTo Previous Page
Loading...
© Munters AB, 2018 22
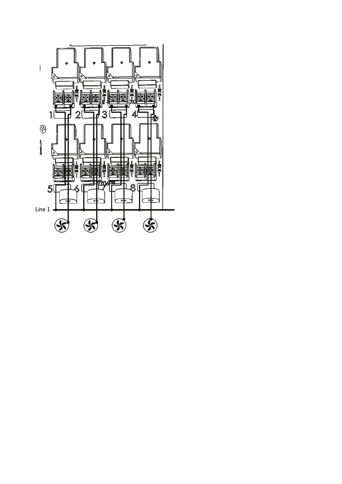
Refer to Monitoring the Current
Sense, page 79 for details on
using the Current Sense relays.
Figure 8: Current Sense Relay Wiring
NOTE Any relay can be wired to a current sensor but winches (if used) are wired to the bottom four
relays. In general winches don't require current monitoring.
NOTE If a device connected to a current sense relay fails, the relay shows 0 volts.
NOTE To enable current sense monitoring, run the cable connecting a device to the relay.

Table of Contents

Related product manuals