EasyManua.ls Logo

Panasonic AJ-SD93P/E - Tension Arm Unit Replacement

Panasonic AJ-SD93P/E
180 pages
Print Icon
To Next Page IconTo Next Page
To Next Page IconTo Next Page
To Previous Page IconTo Previous Page
To Previous Page IconTo Previous Page
Loading...
MECH-50
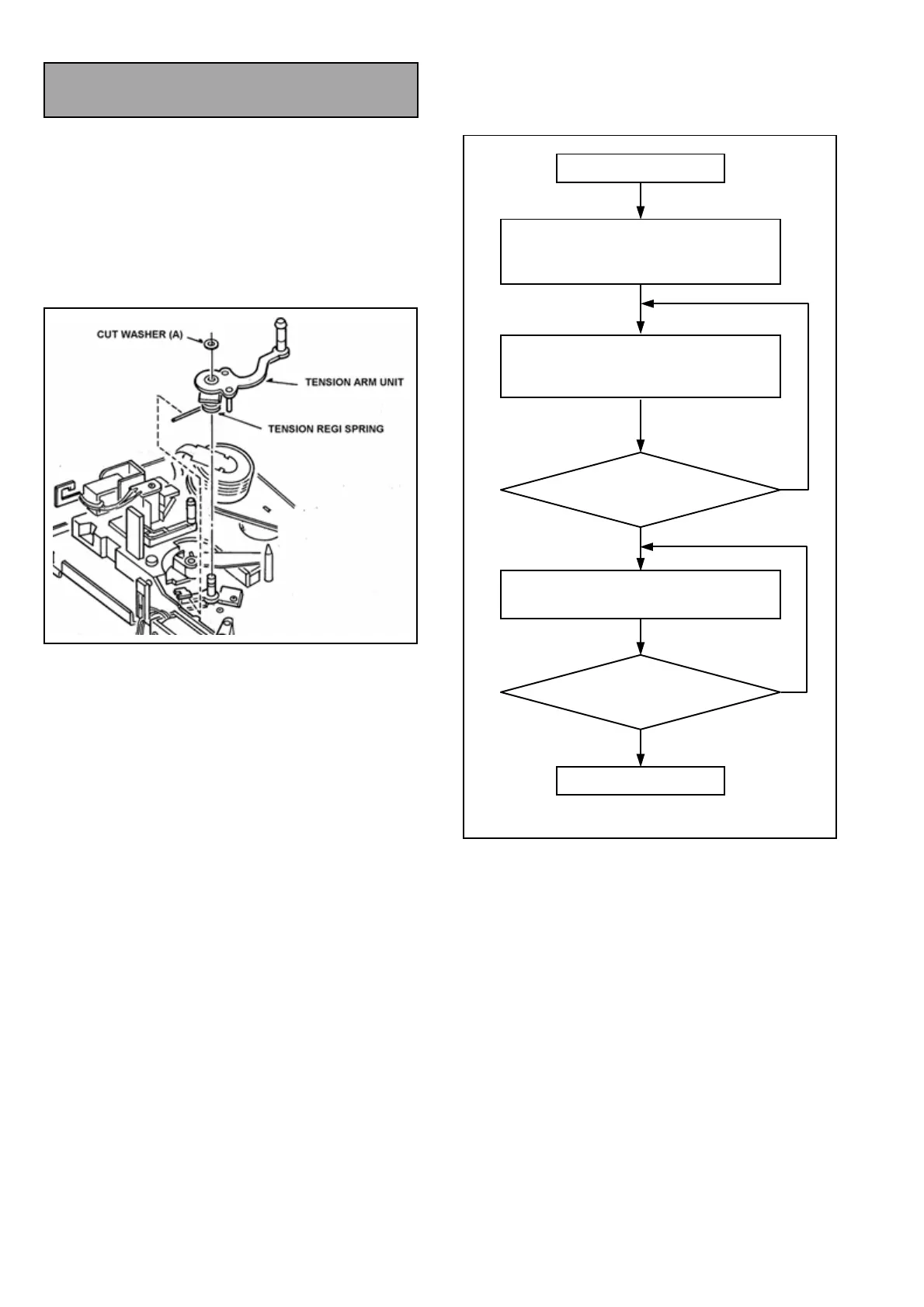
5-18. Tension Arm Unit
Replacement
(Removal)
1. Remove the Cut Washer (A) and detach the
Tension Regulator Spring, and then remove the
Tension Arm Unit as shown in Figure 5-18-1.
(Installation)
1. Install the new Tension Arm Unit following the
removal steps in reveres order.
2. After installation, Tension Arm Adjustment steps
should be performed the following.
Figure 5-18-1
Figure 5-18-2
3-3. Tension Sensor Voltage
Adjustment (1)
(Tension Offset Adjustment)
START
3-4. Tension Sensor Voltage
Adjustment (2)
(Neutral & Playback position Adjustment)
3-5. Rev Voltage Confirmation
3-6. Tension Regulator Spring
Adjustment
3-7. Rev Tension Confirmation
END
OK
NG
OK
NG

Table of Contents

Related product manuals