EasyManua.ls Logo

Pegasus M852-13 - Cambio de la Cuchilla Superior; Cambio de la Cuchilla Inferior; 上刀的更换; 下刀的更换

Pegasus M852-13
120 pages
Print Icon
To Next Page IconTo Next Page
To Next Page IconTo Next Page
To Previous Page IconTo Previous Page
To Previous Page IconTo Previous Page
Loading...
Superior del tablero
de la aguja
针板上面
Superior del tablero
de la aguja
针板上面


A
(Fig.A)
(A)
(Fig.B)
(B)
0.51.0mm
4
6
4
6
PRECAUCION 注意
Primero, siempre desconectar y desenchufar la máquina.
El ajuste o el cambio respectivo de la cuchilla ha de ser
efectuado
por mecánicos calificados.
¡Peligro de accidentes para las manos y/o dedos con los
filos
de las cuchillas!
调节刀片时,务必将缝纫机的电源关掉,将插头从电源
插销上拔下来之后,请专门的技术人员进行操作。
刀片的刃部有划破手指的危险,操作时要特别小心注意。
Cambio de la cuchilla superior
上刀的更换
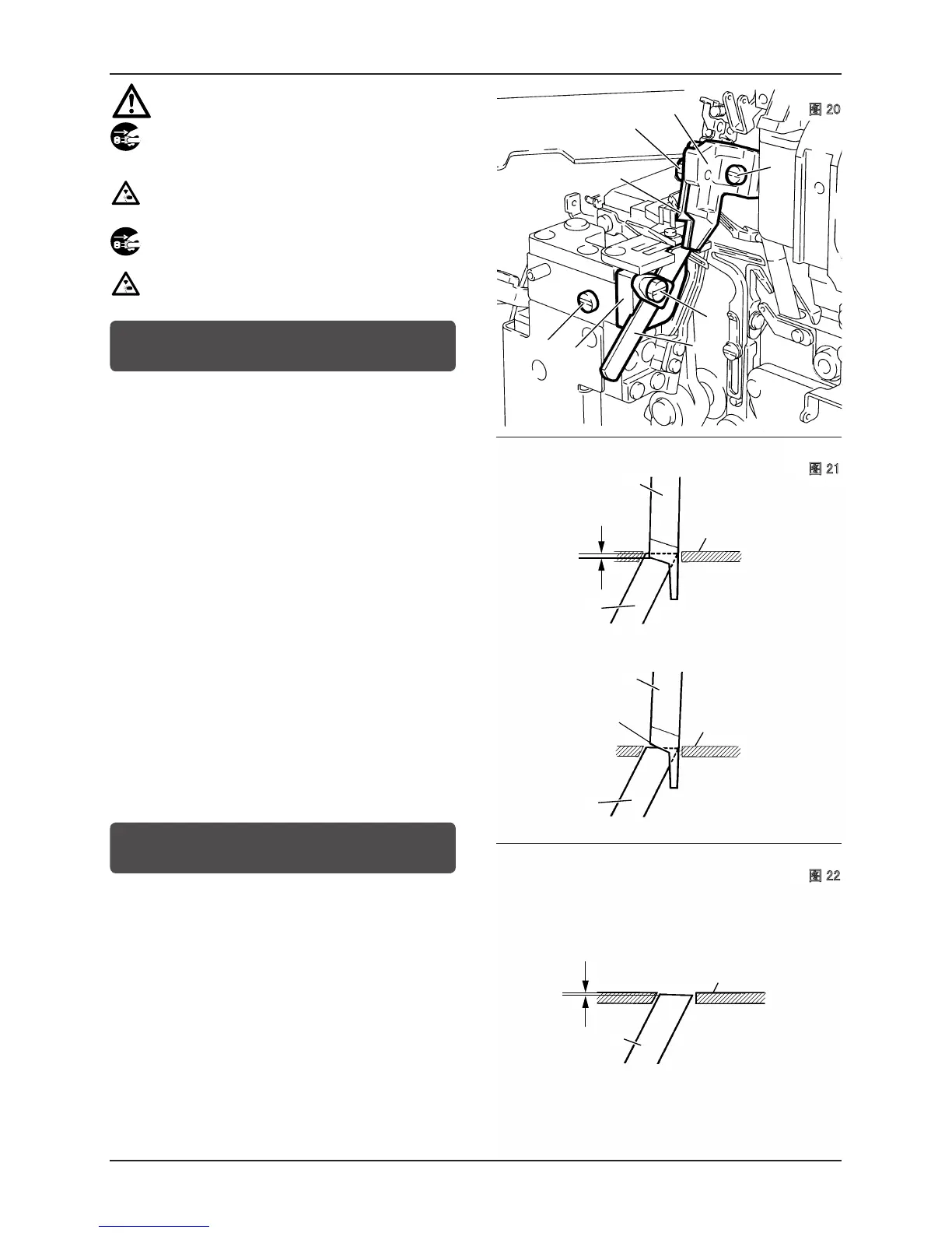
1.
Soltar el tornillo
1
. Colocar el portacuchillas inferior
2
en su
posición extrema izquierda de la carrera. Atornillar el tornillo
1
provisoriamente.
2.
Desmontar el tornillo
3
y la cuchilla superior
4
. Reemplazar
la cuchilla inferior con una nueva. Atornillar el tornillo
3
provisoriamente. Hacer girar el volante hasta que el
portacuchillas superior se encuentre en su posición más
baja.
El traslapo de la cuchilla superior e inferior ha de ser de
0.5 - 1.0 mm. El ajuste se hace desplazando la cuchilla
superior hacia arriba o abajo respectivamente. Atornillar el
tornillo
3
.
3.
Cruzar la cuchilla superior
4
y la cuchilla inferior
6
a la mitad
(
A
) de sus filos (véase la Figura 21). Soltar el tornillo
1
.
A continuación, cerciorarse que la cuchilla superior tenga
ligero contacto con la cuchilla inferior. Atornillar el tornillo
1
.
4.
Poner un hilo entre la cuchilla superior e inferior y hacer girar
el volante para controlar el resultado del corte.
1.
请松动螺丝
1
,使下刀架
2
靠向最左边位置,使用螺丝
1
临时固定。
2.
请拔出螺丝
3
,拆掉上刀
4
。用螺丝
3
临时固定新的上
刀,旋转 皮带轮,将上刀架置于最下边位置,上下
移动上刀进行调节,使上刀和下刀相互咬合 0.5 1.0
mm 的深度,拧紧螺丝
3
3.
将上刀
4
的刀中央 (
A
) 点对准与下刀
6
的刀中央部相交
叉的位置(请参照图 21),松动螺丝
1
,确认上刀和下
刀没有间隙之后,拧紧螺丝
1
4.
在上下刀之间放入线,旋转皮带轮,确认可以顺利切断线。
Cambio de la cuchilla inferior
下刀的更换
1.
Soltar el tornillo
1
. Colocar el portacuchillas inferior
2
en su
posición extrema izquierda de la carrera.
Atornillar el tornillo
1
provisoriamente.
2.
Soltar el tornillo
5
. Desmontar la cuchilla inferior
6
y
reemplazarla con una nueva. Ajustar la cuchilla inferior de tal
forma que el filo se encuentre de 0 - 0.3 mm por debajo de la
cara superior del tablero de la aguja. Atornillar el tornillo
5
.
3.
Proceder según las instrucciones 3 y 4 del capítulo »Cambio
de la cuchilla superior«. Canto superior del dispositivo de
sujeción
1.
松动螺丝
1
,将下刀架
2
置于最左边位置,用螺丝
1
时固定。
2.
松动螺丝
5
,取出下刀
6
,更换新的下刀。调节下刀,
使下刀的刀刃与针板上面的间隙尺寸为 0 0.3 mm,拧
紧螺丝
5
3.
根据更换上刀的项目 3. 4. 进行操作。
1
7
8
3
4
5
6
2
6
00.3mm
Superior del tablero
de la aguja
针板上面
Fig.22
22
20
Fig.20
21
Fig.21


Table of Contents

Related product manuals