EasyManua.ls Logo

Pegasus M852-13 - Ajuste del Ancho de la Costura; Afilado de las Cuchillas; 链幅的调节; 刀的研磨方法

Pegasus M852-13
120 pages
Print Icon
To Next Page IconTo Next Page
To Next Page IconTo Next Page
To Previous Page IconTo Previous Page
To Previous Page IconTo Previous Page
Loading...
1
3
4
2
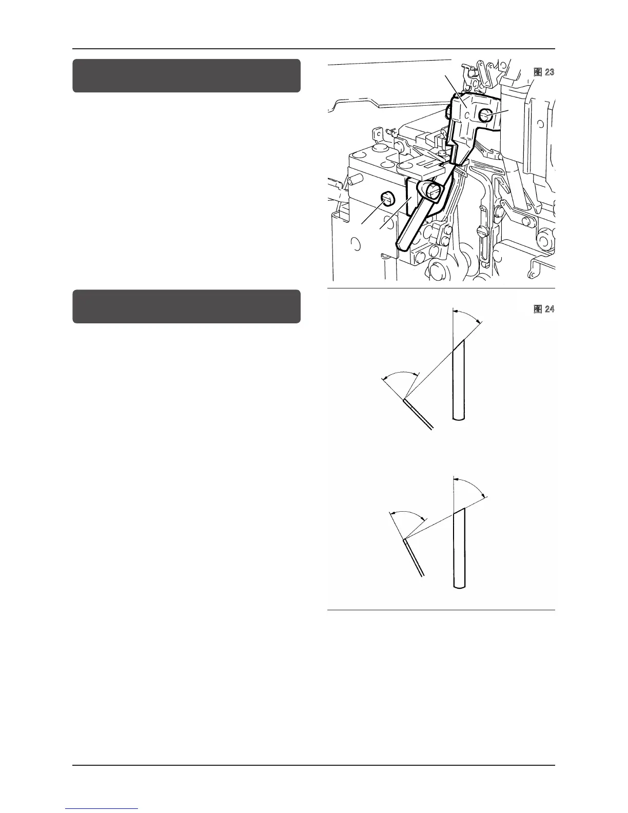
Ajuste del ancho de la costura
链幅的调节
1.
Soltar el tornillo
1
. Colocar el portacuchillas inferior
2
en su
posición extrema izquierda de la carrera. Atornillar el tornillo
1
provisoriamente.
2.
Soltar el tornillo
3
. Ajustar el ancho de la costura
desplazando la abrazadera de la cuchilla superior
4
hacia la
izquierda o hacia la derecha respectivamente.
3.
Proceder según las instrucciones 3 y 4 del capítulo »Cambio
de la cuchilla superior«.
1.
松动螺丝
1
,将下刀架
2
置于最左边位置,用螺丝
1
时固定。
2.
松动螺丝
3
,左右移动上刀架箍
4
,调节链幅。
3.
根据更换上刀的项目 3. 4. 进行操作。
Afilado de las cuchillas
刀的研磨方法
La cuchilla superior es de metal duro y, por tanto, se tiene que
afilar solamente después de transcurrido mucho tiempo.
La cuchilla inferior ha de afilarse con mayor frecuencia para
garantizar un resultado del corte satisfactorio.
Afilado de la cuchilla inferior
Afilar la cuchilla inferior exactamente a como viene indicado en la
Figura a la derecha. El afilado inapropiado de la cuchilla inferior
tiene como consecuencia un mal resultado del corte o bien una
rápida pérdida del filo de la cuchilla inferior. Hay que tener cuidado
al afilar.
Cuchilla superior
Para el afilado de la cuchilla superior se necesita una afiladora de
cuchillas especial. Favor dirigirse directamente a Pegasus o bien a
un suministrador Pegasus.
Tener siempre un repuesto de cuchilla superior para evitar
interrupciones del trabajo en la empresa.
上刀的材质为超硬合金,可在很长时间内不需要研磨。
刀的切断变钝时,请研磨下刀。
下刀的研磨方法
请参照图示正确地进行研磨。
研磨方法不对时会使刀变钝,不能很快切断,请予注意。
上刀
研磨上刀时,需要使用特殊的研磨机,最好由购买特约店委
托我公司代为研磨。为了提高作业效率,请准备好备用上刀。
75
75
45
62
Serie M832
M832系列
Serie M852
M852系列
Fig.24
24
23
Fig.23


Table of Contents

Related product manuals