EasyManua.ls Logo

Ricoh G147 - Toner Supply

Ricoh G147
496 pages
To Next Page IconTo Next Page
To Next Page IconTo Next Page
To Previous Page IconTo Previous Page
To Previous Page IconTo Previous Page
Loading...
SM 6-29 G147
Detailed
Descriptions
The way that these SP modes are used is shown below.
For example, with the default settings, if the paper width fed from the by-pass tray is 200 mm,
the development bias voltage will be –540 + 50 V.
6.7.5 TONER SUPPLY
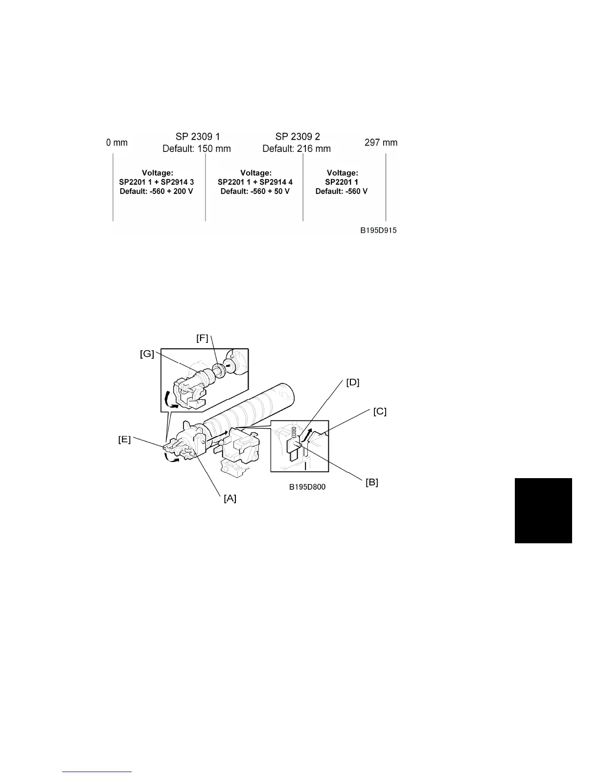
Toner Bottle Replenishment Mechanism
When the toner bottle is installed in the bottle holder [A], pin [B] slides up the side of the
PCU [C], pulling out the toner shutter [D]. When the toner bottle holder lever [E] is returned
to its original position, the cap [F] pulls away and is kept in place by the chuck [G].
The toner bottle holder lever [E] cannot be lowered:
Until a toner bottle is installed in the holder. This prevents toner falling out of the holder
unit as a result of lowering the handle with no toner bottle installed.
Until the holder and bottle have been pushed into the machine completely and locked in
place. Instruct the customer to always follow the bottle replacement instructions of the
new decal attached to the toner bottle.
The toner bottle has a spiral groove which rotates the bottle to move toner to the
development unit. When the bottle holder unit is pulled out, the chuck [G] releases the toner

Table of Contents

Related product manuals