EasyManua.ls Logo

Ricoh G147 - Fusing Drive

Ricoh G147
496 pages
To Next Page IconTo Next Page
To Next Page IconTo Next Page
To Previous Page IconTo Previous Page
To Previous Page IconTo Previous Page
Loading...
G147 6-58 SM
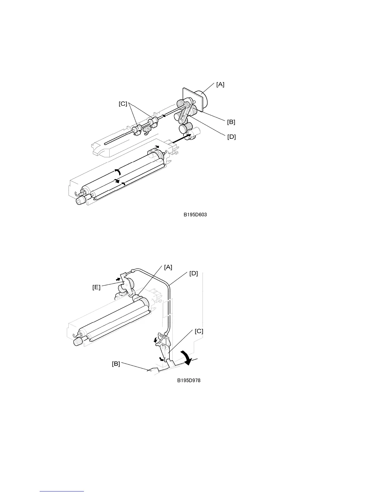
6.13.2 FUSING DRIVE
The fusing exit motor [A] drives the fusing unit through the gears [B] and also drives the
paper exit rollers [C] through a gear and a timing belt [D].
6.13.3 FUSING DRIVE RELEASE MECHANISM
The fusing unit drive release mechanism automatically disengages the fusing unit drive gear
[A] when the right door [B] is opened.
When the right cover is opened, the actuator plate [C] pulls release wire [D]. The wire pulls
the fusing drive gear bracket [E] and the fusing unit drive is disengaged.

Table of Contents

Related product manuals