EasyManua.ls Logo

Ricoh G147 - By-Pass Paper Size Detection

Ricoh G147
496 pages
Print Icon
To Next Page IconTo Next Page
To Next Page IconTo Next Page
To Previous Page IconTo Previous Page
To Previous Page IconTo Previous Page
Loading...
SM 6-45 G147
Detailed
Descriptions
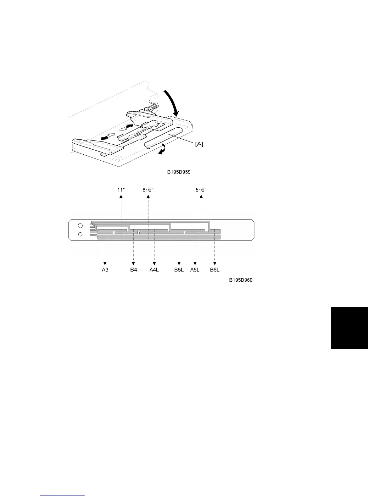
6.10.3 BY-PASS PAPER SIZE DETECTION
The paper size sensor board [A] monitors the paper width.
The rear side fence is connected to the terminal plate. The pattern for each paper width is
unique. Therefore, the machine determines which paper has been placed in the by-pass tray
by the signal output from the board. However, the machine does not determine the paper
length from the by-pass tray hardware.

Table of Contents

Related product manuals