EasyManua.ls Logo

Ricoh G147 - Page 87

Ricoh G147
496 pages
Print Icon
To Next Page IconTo Next Page
To Next Page IconTo Next Page
To Previous Page IconTo Previous Page
To Previous Page IconTo Previous Page
Loading...
SM 3-11 G147
Replacement
Adjustment
1. Open the front door.
2. Raise the toner bottle holder handle [A].
3. Remove front door [B] (Pins x2)
4. Remove toner collection plate [C] ( x).
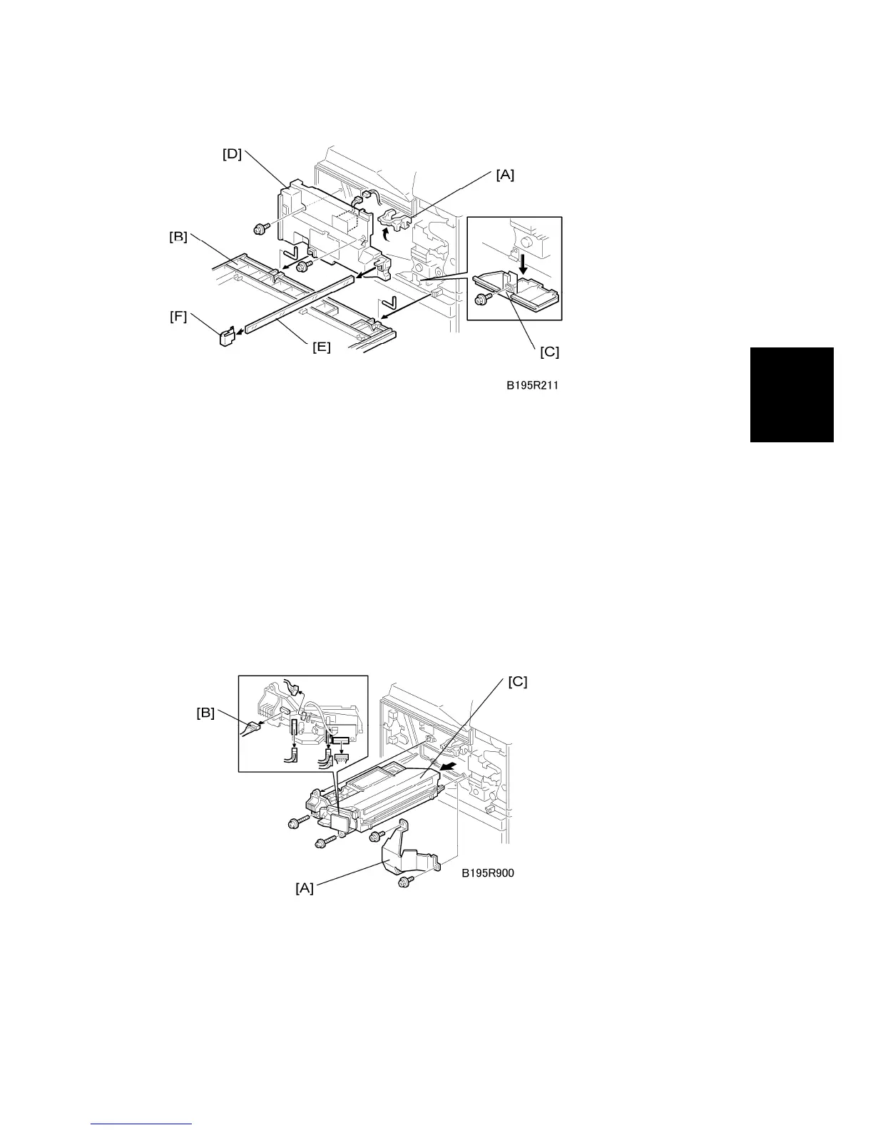
5. Remove inner cover [D] ( x 2, x 1)
6. While pressing in the top leaf on the left side, remove the shield glass cover [E].
7. The shield glass cover holds the shield glass firmly in place and prevents it from
accidental removal.
8. When re-attaching the shield glass cover, the top leaf lies on top of the plastic
form.
9. Shield glass clip [F]
10. Shield plate [A] ( x 2)
11. While holding the LD board securely, disconnect the laser unit [B] ( x 6, Flat
film cable x1)
12. Hold the laser unit [C] by its casing, slide it out of the machine ( x 2)

Table of Contents

Related product manuals