EasyManua.ls Logo

Ricoh SR3270 - Punch Unit Mechanism

Ricoh SR3270
128 pages
Print Icon
To Next Page IconTo Next Page
To Next Page IconTo Next Page
To Previous Page IconTo Previous Page
To Previous Page IconTo Previous Page
Loading...
1.Detailed Descriptions
42
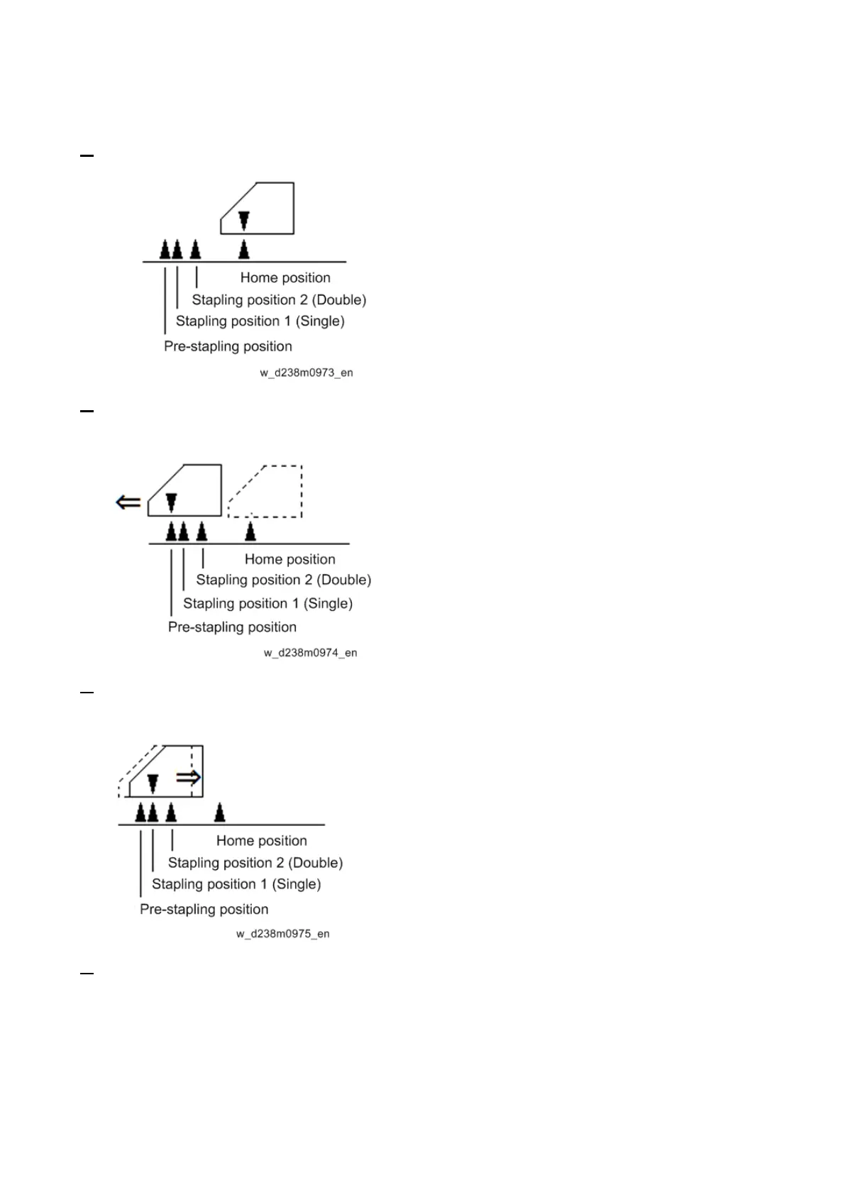
Double stapling operation
1. The stapleless stapler unit is at the home position before receiving paper.
2. The stapleless stapler unit moves to the pre-stapling position when starting a stapleless stapling
job.
3. After receiving the first sheet, the stapleless stapler unit moves from the Stapling Position 1
towards the rear by 2.2 mm. After stacking the sheets, stapling is performed. (Stapling Position 1)
4. The stapleless stapler unit moves further towards the rear by 4 mm and performs stapling.

Table of Contents

Related product manuals