EasyManua.ls Logo

Siemens AlgoRex CS1140 - 9.1 Main CPU (CI;CC) limitation

Siemens AlgoRex CS1140
126 pages
Print Icon
To Next Page IconTo Next Page
To Next Page IconTo Next Page
To Previous Page IconTo Previous Page
To Previous Page IconTo Previous Page
Loading...
Outline quantities of C bus participants
23
Building Technologies 008725_h_en_--
Fire Safety & Security Products 06.2011
9.1 Main CPU (CI/CC) limitation
The limits within the station types are given
by hard- and software.
Verify all given limits for each required station
by going through this flow chart.
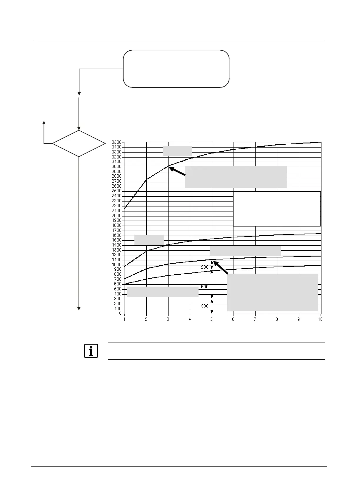
Maximum number of devices per station (RAM)
This limitation is for the CI1142, CC1142, CC1143 station types and depends on how the logical
structure is formed.
The limit values, depending on the estimated average number or ELEMENTS per OBJECT, can be
found in the following diagram.
no
yes
select station with
higher RAM
capacity or an
additional station
number of
devices < X ?
Max. number of devices
ELEMENTS per OBJECT (average)
Important:
The curve is for the values entered for EP5.
The above limit value must however be corrected downwards for the following configuration.
Number of OBJECTS per SECTION (on average) < 3 CI1142: –15 %
CC1142:
CC1143:
Use of ELEMENT texts CI1142: –20 %
CC1142: –10 %
CC1143: –10 %
Example:
Average of 3 ELEMENTS per OBJECT
Result: Max. 3000 devices
CI1142
(
B3Q661/681/686
)
! Do not go right up to limits!
Include reserve for:
- Changes to project
- System extensions
- Updates for future versions
CI1142
(
B3Q460/480/670
)
CC1142
CC1143
Example:
Average of 5 ELEMENTS per OBJECT
Control panel assignment: 300 devices
Free memory space: 600 devices (-200
reserve) (For use of this value, see page 26
'Max. number of texts')

Table of Contents

Other manuals for Siemens AlgoRex CS1140

Related product manuals