EasyManua.ls Logo

Stryker FL23SE - Upright Oxygen Bottle Holder - FA64117

Stryker FL23SE
193 pages
Print Icon
To Next Page IconTo Next Page
To Next Page IconTo Next Page
To Previous Page IconTo Previous Page
To Previous Page IconTo Previous Page
Loading...
182 72-1048E MM FL23SE REV A www.stryker.com
Return To Table of Contents
2
1
8
3
4
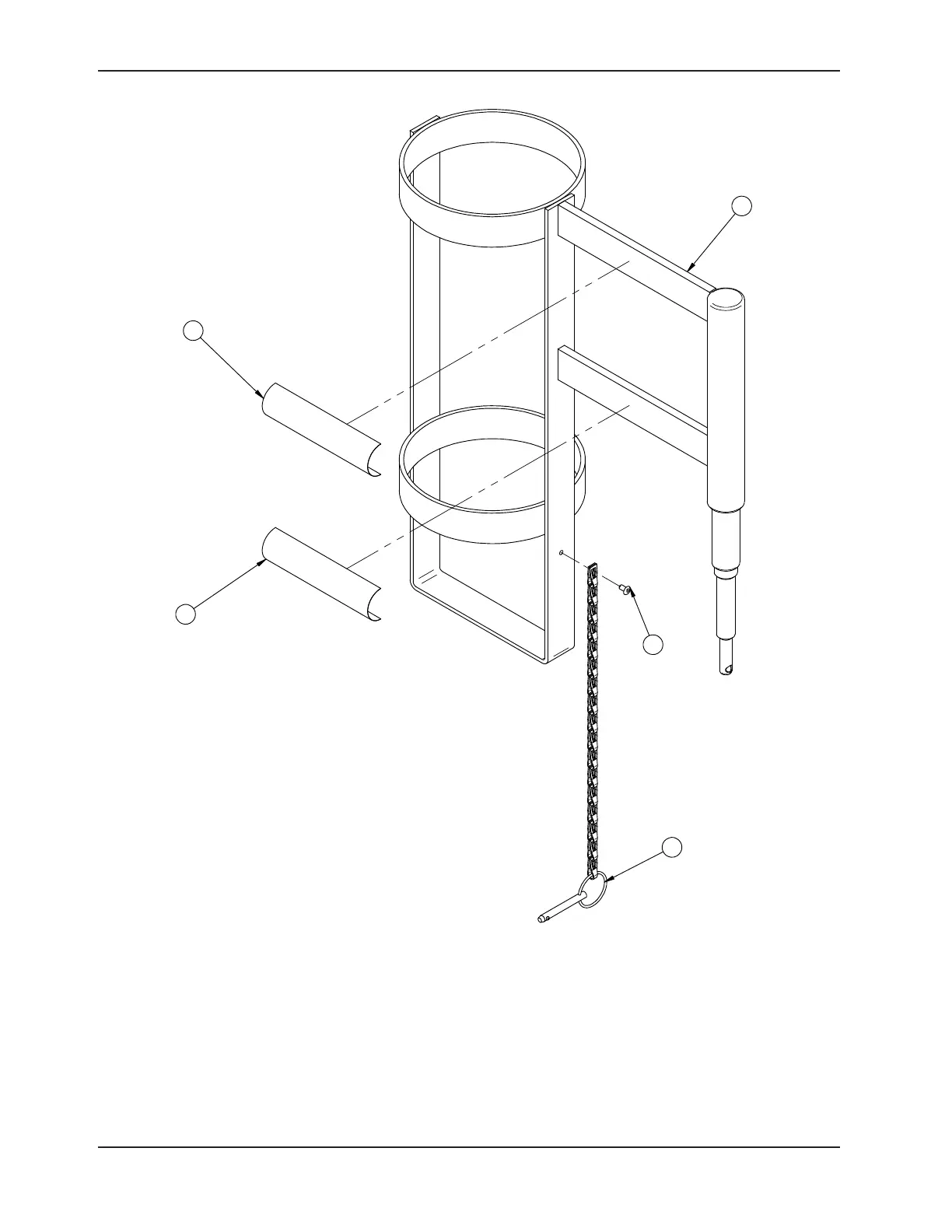
Upright Oxygen Bottle Holder - FA64117
Upright Oxygen Bottle Holder (For Reference Only: FA64117)
Item Part No. Description Qty.
1 QE14399-T Manufacturer’s Nameplate 1
2 QE71-0601 Sticker - Maximum Load 1
3 VR11H42 Pop Rivet #42 Dome Head 1
4 QDF64-1005 Oxygen Support Bottle 1
8 64-0647 S.A. Security Chain 1

Table of Contents

Related product manuals