EasyManua.ls Logo

Tally T6090 - Page 172

Default Icon
202 pages
Print Icon
To Next Page IconTo Next Page
To Next Page IconTo Next Page
To Previous Page IconTo Previous Page
To Previous Page IconTo Previous Page
Loading...
T6090 Maintenance Manual Supplement
4
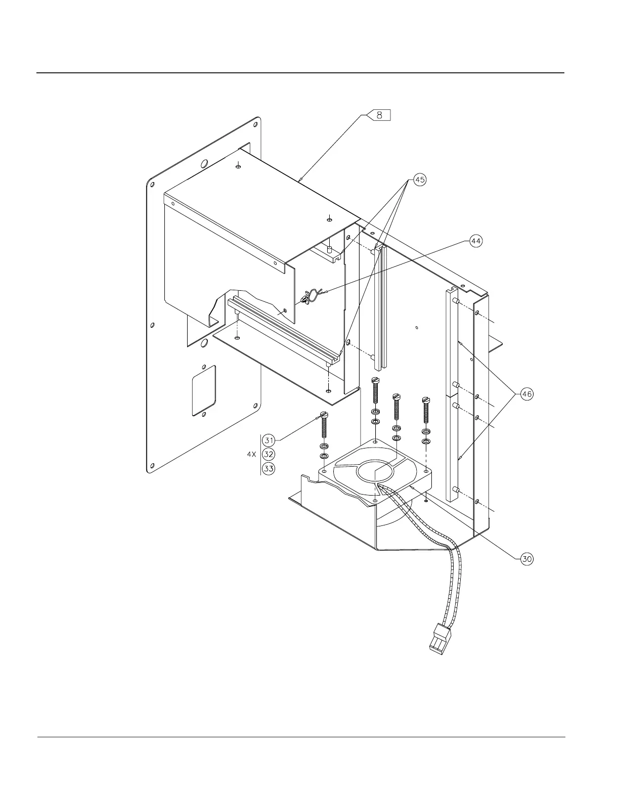
Fan Assembly Diagram
Figure 2. Fan Assembly Diagram

Table of Contents

Other manuals for Tally T6090

Related product manuals