EasyManua.ls Logo

Teltone TLE-A - Operational Screens

Default Icon
140 pages
Print Icon
To Next Page IconTo Next Page
To Next Page IconTo Next Page
To Previous Page IconTo Previous Page
To Previous Page IconTo Previous Page
Loading...
Telephone Line Emulator User’s Manual
40-400-00020, Rev. M 8
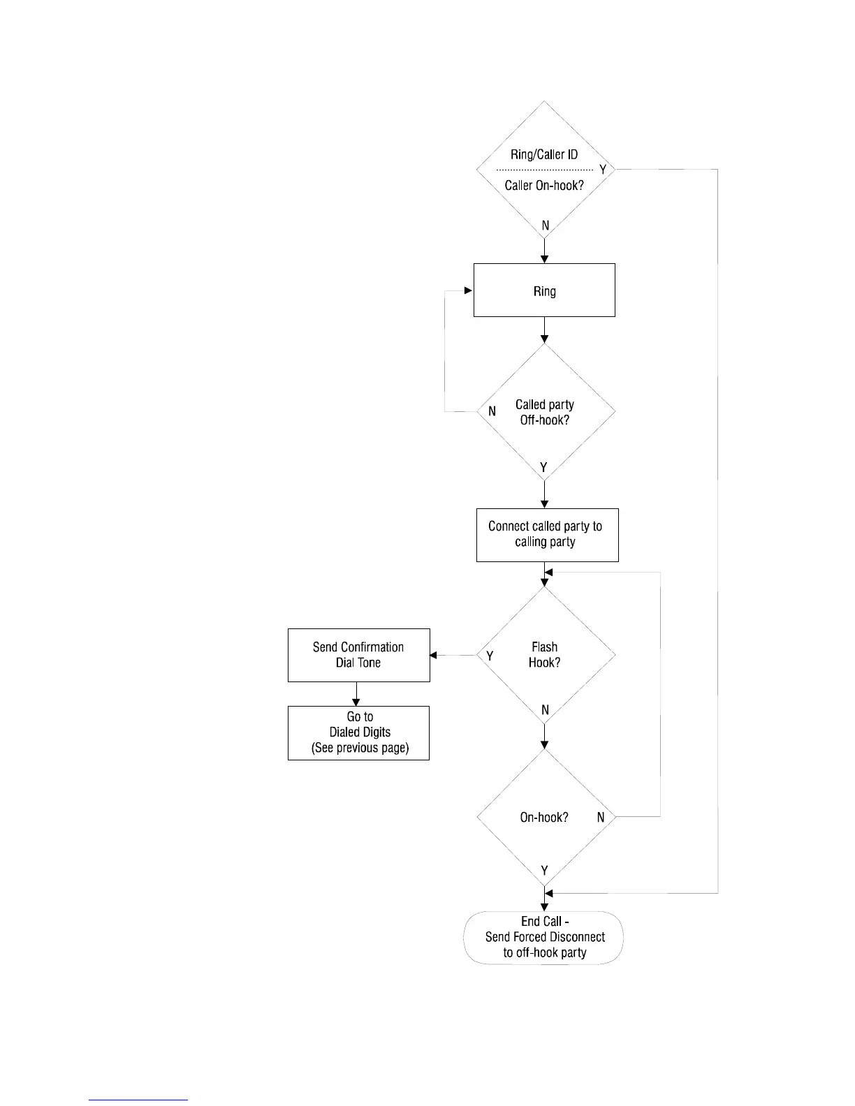
Figure 4. TLE Call Processing Flowchart (Part 2)

Table of Contents